EasyManua.ls Logo

AEG AR 4029 DAB - Übersicht der Bedienelemente; Overview of the Components

AEG AR 4029 DAB
Print Icon
To Next Page IconTo Next Page
To Next Page IconTo Next Page
To Previous Page IconTo Previous Page
To Previous Page IconTo Previous Page
Loading...
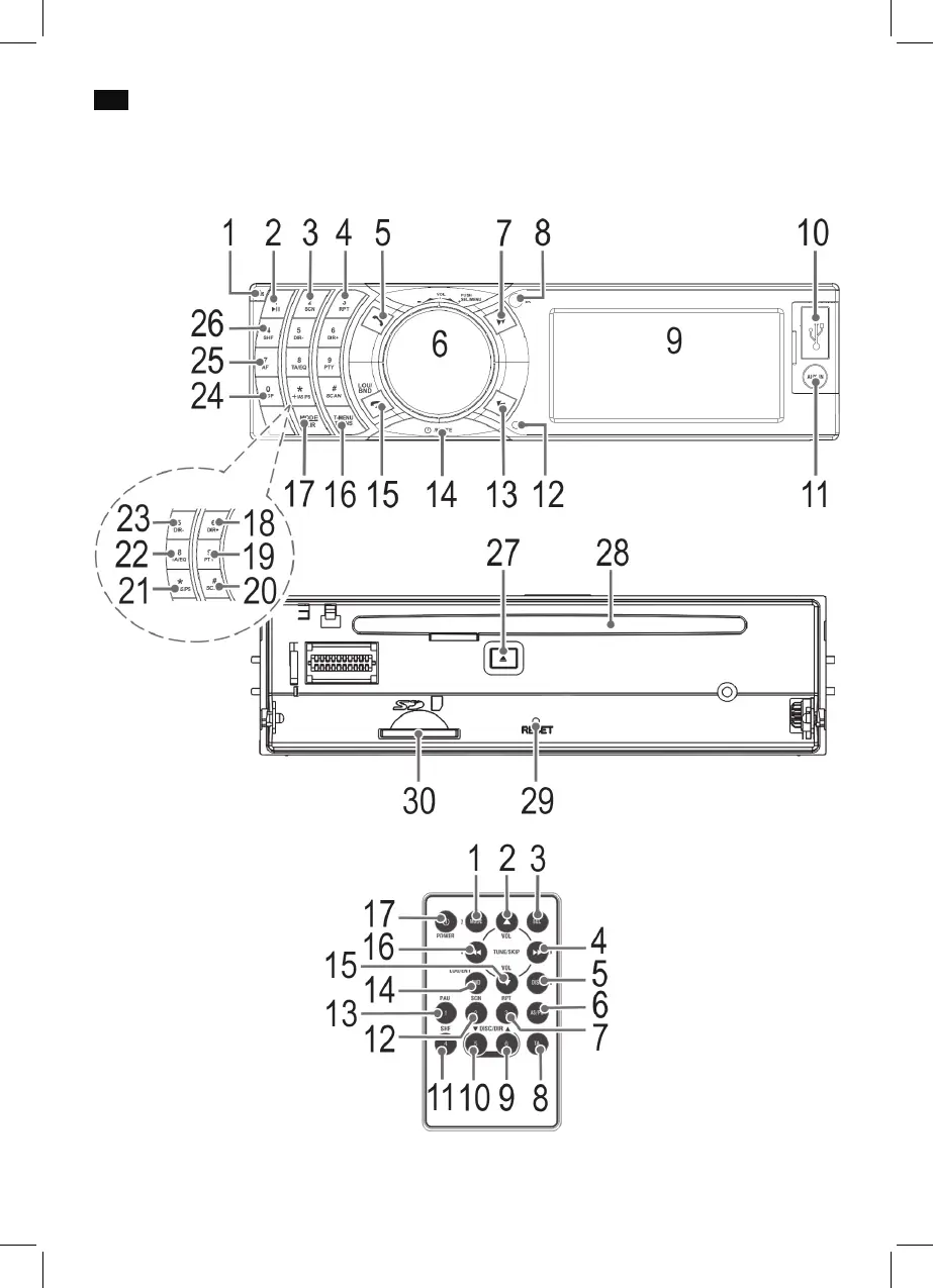
Übersicht der Bedienelemente
3
Overview of the Components

Table of Contents

Related product manuals