EasyManua.ls Logo

AEG BEE455010M - Using the Accessories

AEG BEE455010M
36 pages
Print Icon
To Next Page IconTo Next Page
To Next Page IconTo Next Page
To Previous Page IconTo Previous Page
To Previous Page IconTo Previous Page
Loading...
3. When the set time ends, an acoustic
signal sounds. Press any button to
stop the acoustic signal.
4. Turn the knob for the oven functions
and the knob for the temperature to
the off position.
7.7 Cancelling the clock
functions
1. Press the again and again until
the necessary function indicator
starts to flash.
2. Press and hold .
The clock function goes out after some
seconds.
8. USING THE ACCESSORIES
WARNING!
Refer to Safety chapters.
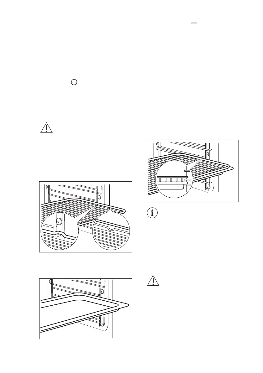
8.1 Inserting the accessories
Wire shelf:
Push the shelf between the guide bars of
the shelf support and make sure that the
feet point down.
Baking tray / Deep pan:
Push the baking tray / deep pan between
the guide bars of the shelf support.
Wire shelf and baking tray / deep pan
together:
Push the baking tray / deep pan between
the guide bars of the shelf support and
the wire shelf on the guide bars above.
Small indentation at the top
increase safety. The
indentations are also anti-tip
devices. The high rim
around the shelf prevents
cookware from slipping of
the shelf.
8.2 Trivet and Grill- / Roasting
pan
WARNING!
Be careful when you remove
the accessories from a hot
oven. There is a risk of burns.
You can use the trivet to roast larger
pieces of meat or poultry on one shelf
position.
1. Put the trivet into the deep pan so
that the supports of the wire shelf
point up.
www.aeg.com
12

Related product manuals