EasyManua.ls Logo

AEG CCE84779FB - Page 18

AEG CCE84779FB
32 pages
Print Icon
To Next Page IconTo Next Page
To Next Page IconTo Next Page
To Previous Page IconTo Previous Page
To Previous Page IconTo Previous Page
Loading...
setting. Press and hold for 3 seconds,
until the indicator above the symbol
disappears. Deactivate the hob with .
Cooking with the function activated:
press , then press for 3 seconds,
until the indicator above the symbol
disappears. You can operate the hob.
When you deactivate the hob with the
function operates again.
7.5 Flexible induction
cooking area
WARNING!
Refer to Safety chapters.
FlexiBridge function
The flexible induction cooking area
consists of four sections. The sections
can be combined into two cooking zones
with different size, or into one large
cooking area. You choose the
combination of the sections by choosing
the mode applicable to the size of the
cookware you want to use. There are
three modes: Standard, Big Bridge, and
Max Bridge.
To set the heat setting use
the two control bars on the
left side.
Switching between the modes
To switch between the modes press .
The heat setting levels will be kept.
In some models there are
two flexible cooking areas,
left and right. To operate the
flexible cooking area on the
right side, use the symbols
and the control bars on the
right side of the hob.
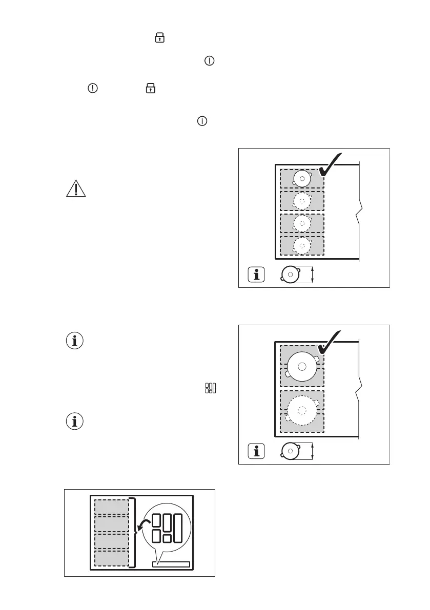
Diameter and position of the
cookware
Choose the mode applicable to the size
and the shape of the cookware. The
cookware should cover the selected area
as much as possible.
Place the cookware with the bottom
diameter smaller than 160 mm centrally
on a single section. You can use a
roaster pan for the Big Bridge and the
Max Bridge modes.
100-160mm
Place the cookware with the bottom
diameter larger than 160 mm centrally
between two sections.
> 160 mm
FlexiBridge Standard mode
This mode is activated by default when
you activate the function. It connects the
sections into two separate cooking
areas. You can set the heat setting for
each area separately. Use the two
www.aeg.com18

Related product manuals