EasyManua.ls Logo

AEG COMPETENCE D4100-1 - ELECTRONIC TIMER; Setting Clock and Countdown

AEG COMPETENCE D4100-1
48 pages
Print Icon
To Next Page IconTo Next Page
To Next Page IconTo Next Page
To Previous Page IconTo Previous Page
To Previous Page IconTo Previous Page
Loading...
KEY
A COOK TIME
B END TIME
C COUNTDOWN
DTIME
E DECREASE CONTROL
F SELECTOR CONTROL
G INCREASE CONTROL
NOTE:
The time of day must be set before the main
oven will operate manually.
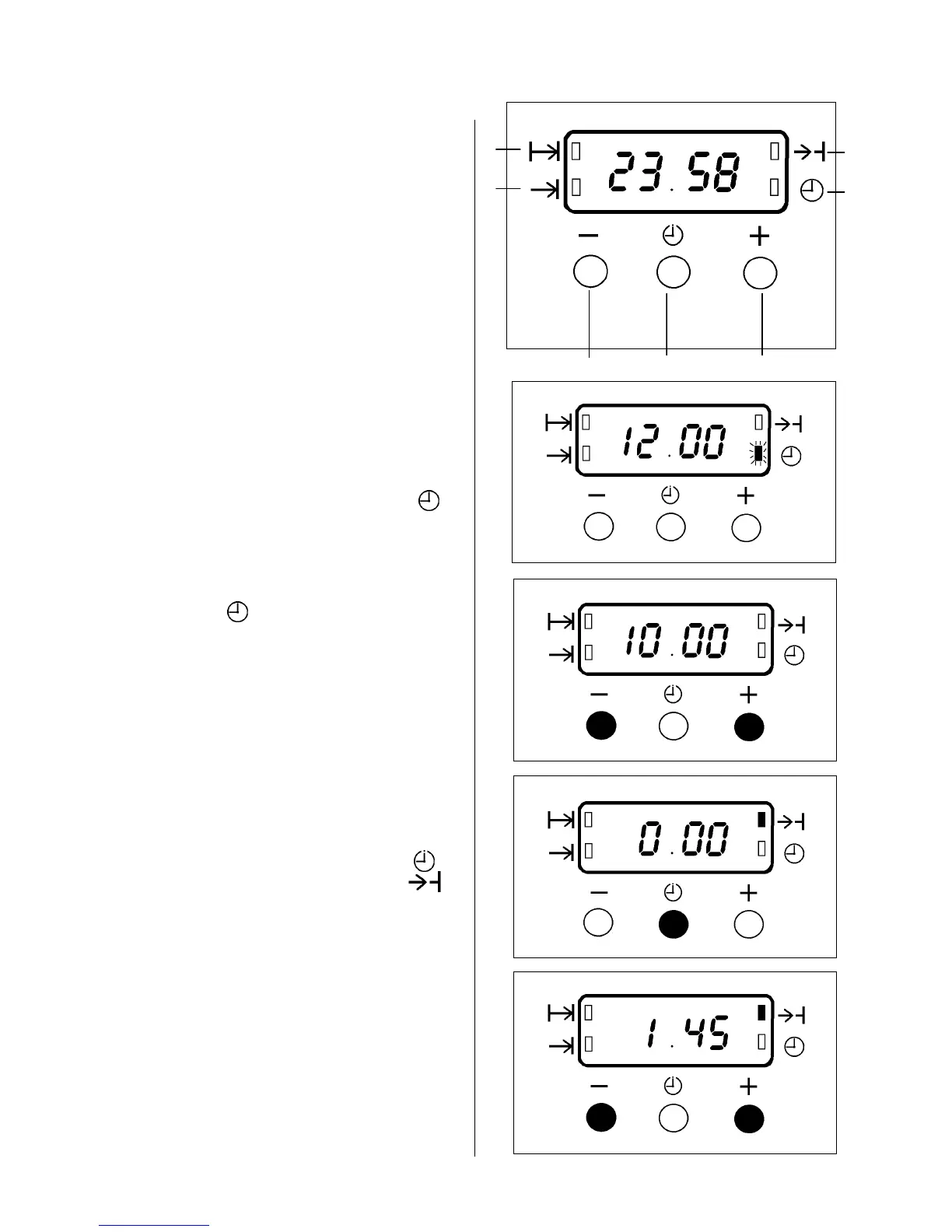
1. SET THE TIME OF DAY
The oven has a 24 hour clock.
When the electricity supply is first switched ON,
the display will show 12.00 and the 'Time' ( )
indicator neon will flash as Fig. 1.
To set the correct time press the increase control
button (+) and if necessary, the decrease control
button (-) until the correct time on the 24 hour
clock is reached, e.g. 10.00am as Fig. 2. The
'Time' indicator ( ) neon will flash for 5 seconds
and then go out.
Note: The increase and decrease control
buttons operate slowly at first, and then more
rapidly. They should be pressed separately.
2. HOW TO SET THE COUNTDOWN
The 'Countdown' gives an audible reminder at the
end of any period of cooking. This cooking period
may be up to 2 hrs 30 mins. It is not part of the
automatic control.
To set, press the Selector Control button ( )
until the 'Countdown' indicator is illuminated ( )
the display reads 0 . 00 as Fig.3.
To set the correct time duration depress the
increase control (+) until the display indicates the
interval to be timed, e.g. 1hr 45 mins as Fig. 4. If
necessary depress the decrease control (-) to
achieve the correct time interval.
NOTE: This must be completed within 5
seconds of first pressing the Selector Control
button.
ELECTRONIC TIMER
8
Fig. 1
Fig. 2
Fig. 3
Fig. 4
A
E
B
C
D
F
G

Table of Contents

Related product manuals