EasyManua.ls Logo

AEG COMPETENCE U7101-4A - Page 10

AEG COMPETENCE U7101-4A
49 pages
Print Icon
To Next Page IconTo Next Page
To Next Page IconTo Next Page
To Previous Page IconTo Previous Page
To Previous Page IconTo Previous Page
Loading...
10
B) TO SET THE TIMER TO SWITCH OFF
ONLY
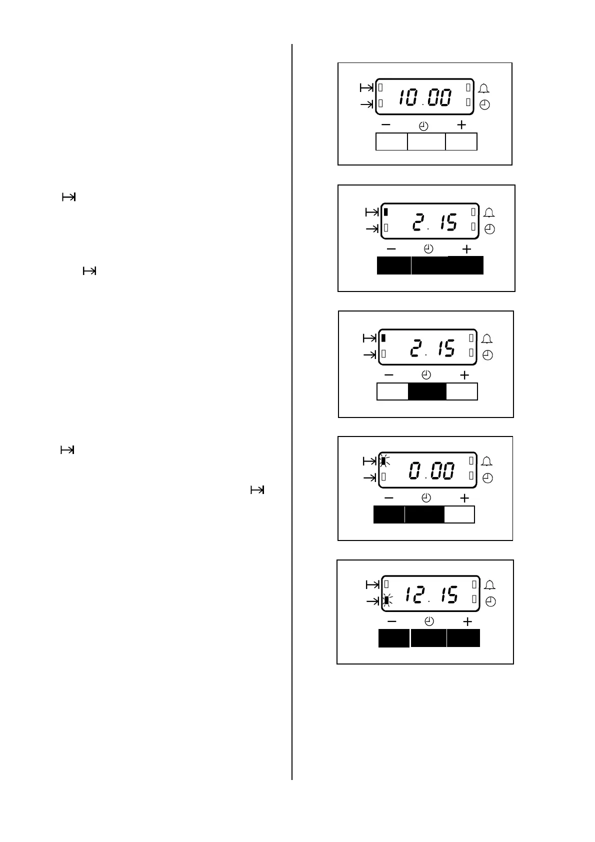
i) Ensure the electricity supply is switched ON and
that the correct time of day is displayed, e.g.
10.00am as Fig. 9.
ii) Set the main oven controls to the required function
and temperature.
iii) Place food in the oven.
iv) To set the length of cooking time, press the
Selector Control button until the 'Cook Time'
( ) indicator neon is illuminated. Press the
increase control ( + ) until the required length of
cooking time is displayed, e.g. 2 hrs 15 mins as
Fig. 10. Depress the decrease control ( - ) if
necessary.
v) Release the buttons. The 'Cook Time' indicator
neon ( ) will illuminate and the time of day will
be displayed after 5 seconds.
vi) The oven indicator neon should be ON.
vii) To check the 'End Time' during the cooking
period, simply press the Selector Control button
once and the remaining time will be displayed, as
Fig. 11.
4. TO CANCEL AN AUTOMATIC
PROGRAMME
i) To cancel an automatic programme press the
Selector Control button until the 'Cook Time'
( ) indicator neon flashes. Press the decrease
control ( - ) until the display reads 0.00 as Fig.
12.
ii) Release the buttons. The 'Cook Time' ( )
indicator neon will flash and after 5 seconds
return to the time of day.
iii) Turn off the oven controls.
5. TO RETURN THE APPLIANCE TO
MANUAL
At the end of a timed cooking period, the
indicator neon will flash and an alarm will sound
for up to 2 minutes.
i) To stop the sound press any of the buttons, as
Fig. 13.
ii) The display will return to the time of day.
iii) Turn off the oven controls.
Fig.9.
Fig.11.
Fig.10.
Fig.12.
Fig.13.

Table of Contents

Related product manuals