EasyManua.ls Logo

AEG COMPETENCE U7101-4A - Page 9

AEG COMPETENCE U7101-4A
49 pages
Print Icon
To Next Page IconTo Next Page
To Next Page IconTo Next Page
To Previous Page IconTo Previous Page
To Previous Page IconTo Previous Page
Loading...
9
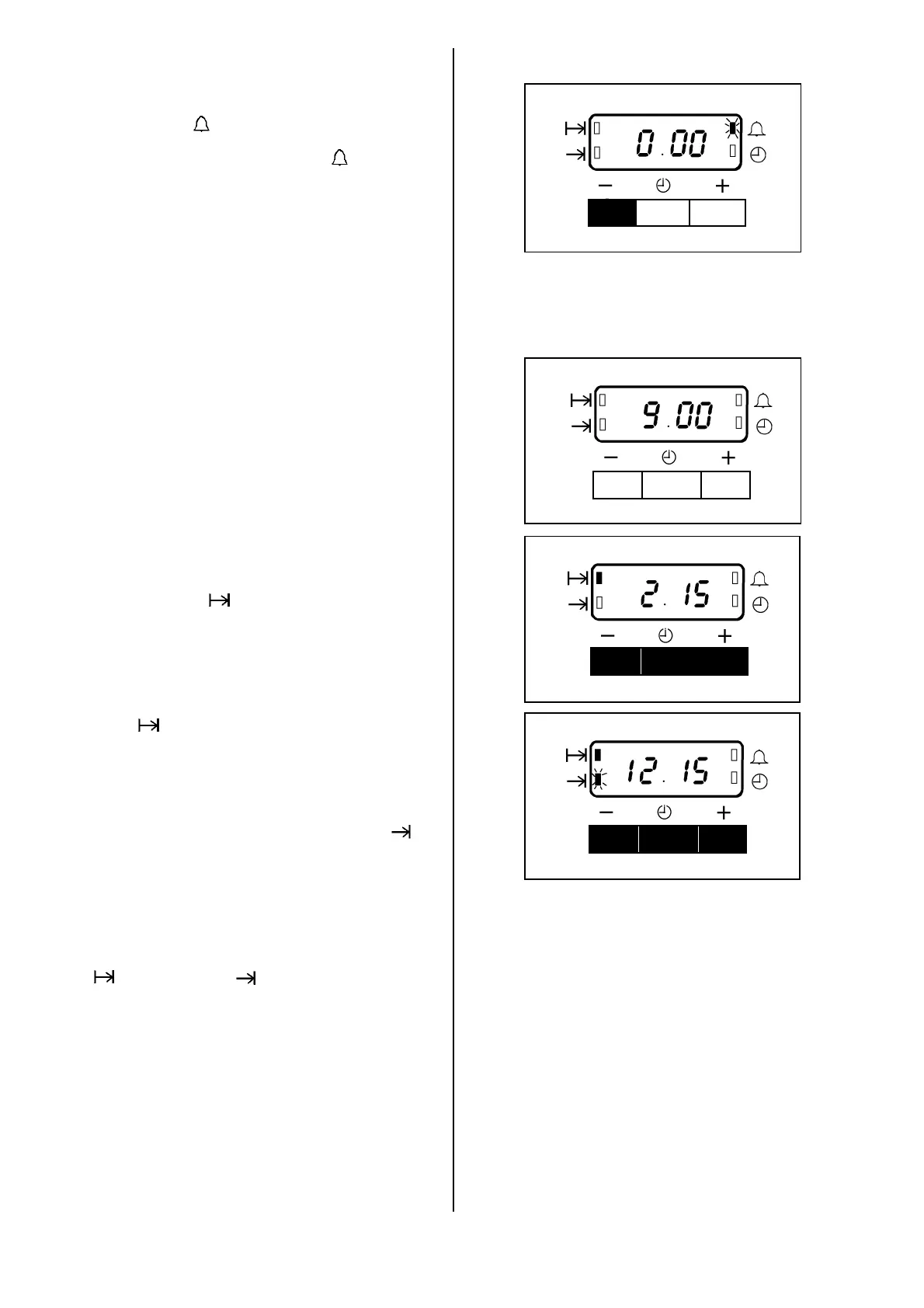
TO CANCEL THE COUNTDOWN
If you change your mind and want to cancel the
'Countdown', press the Selector Control button until
the 'Countdown' ( ) indicator neon flashes and
then the decrease control ( - ) until 0.00 shows in the
display as Fig. 5. The 'Countdown' ( ) indicator
neon will continue to flash for a few seconds and
then return to the time of day.
3. SETTING THE OVEN TIMER
CONTROL
The main oven only can be automatically timed.
When using the timer control for the very first time, it
is advisable to let it operate while you are at home.
The displays can be checked to show that it is
operating correctly and you will feel confident to
leave a meal to cook automatically in the future.
A) TO SET THE TIMER TO SWITCH ON
AND OFF AUTOMATICALLY
i) Ensure the electricity supply is switched ON and
that the correct time of day is displayed, e.g.
9.am. as Fig. 6.
ii) Set the main oven controls to the required
function and temperature.
iii) Place food in the oven.
iv) To set the length of cooking time, press the
Selector Control button until the 'Cook Time'
indicator neon ( ) is illuminated Press the
increase control ( + ) until the required length of
cooking time is displayed, e.g. 2 hrs 15 mins as
Fig. 7. If necessary depress the decrease control
( - ) until the correct time interval is achieved.
The maximum cooking time is 10 hours.
v) Release the buttons. The 'Cook Time' indicator
neon ( ) will be illuminated.
Remember, this must be completed within 5
seconds of first pressing the Selector Control
button.
vi) To set the 'End Time'. Press the Selector Control
button until the 'End Time' indicator neon ( )
flashes. Press the increase control ( + ) until the
required stop time is displayed, e.g. 12.15 p.m.
as Fig. 8. If necessary press the decrease
control ( - ) until the correct time interval is
achieved.
vii) Release the buttons. The time of day will be
displayed after 5 seconds. The 'Cook Time'
( ) and 'End Time' ( ) indicator neons will be
illuminated.
The 'End Time' must not be more than 23 hours
59 minutes from the time of day. For example, if
the time of day is 09.00a.m., the latest 'End Time'
would be 08.59a.m. the next day.
viii) The oven indicator neon should be OFF.
NOTE: When the automatic timed period starts,
the oven indicator neon will glow. It may turn on
and off during use to show that the setting is
being maintained.
Fig.5.
Fig.6.
Fig.7.
Fig.8.

Table of Contents

Related product manuals