EasyManua.ls Logo

AEG FSB53627P - Description de Lappareil

AEG FSB53627P
64 pages
Print Icon
To Next Page IconTo Next Page
To Next Page IconTo Next Page
To Previous Page IconTo Previous Page
To Previous Page IconTo Previous Page
Loading...
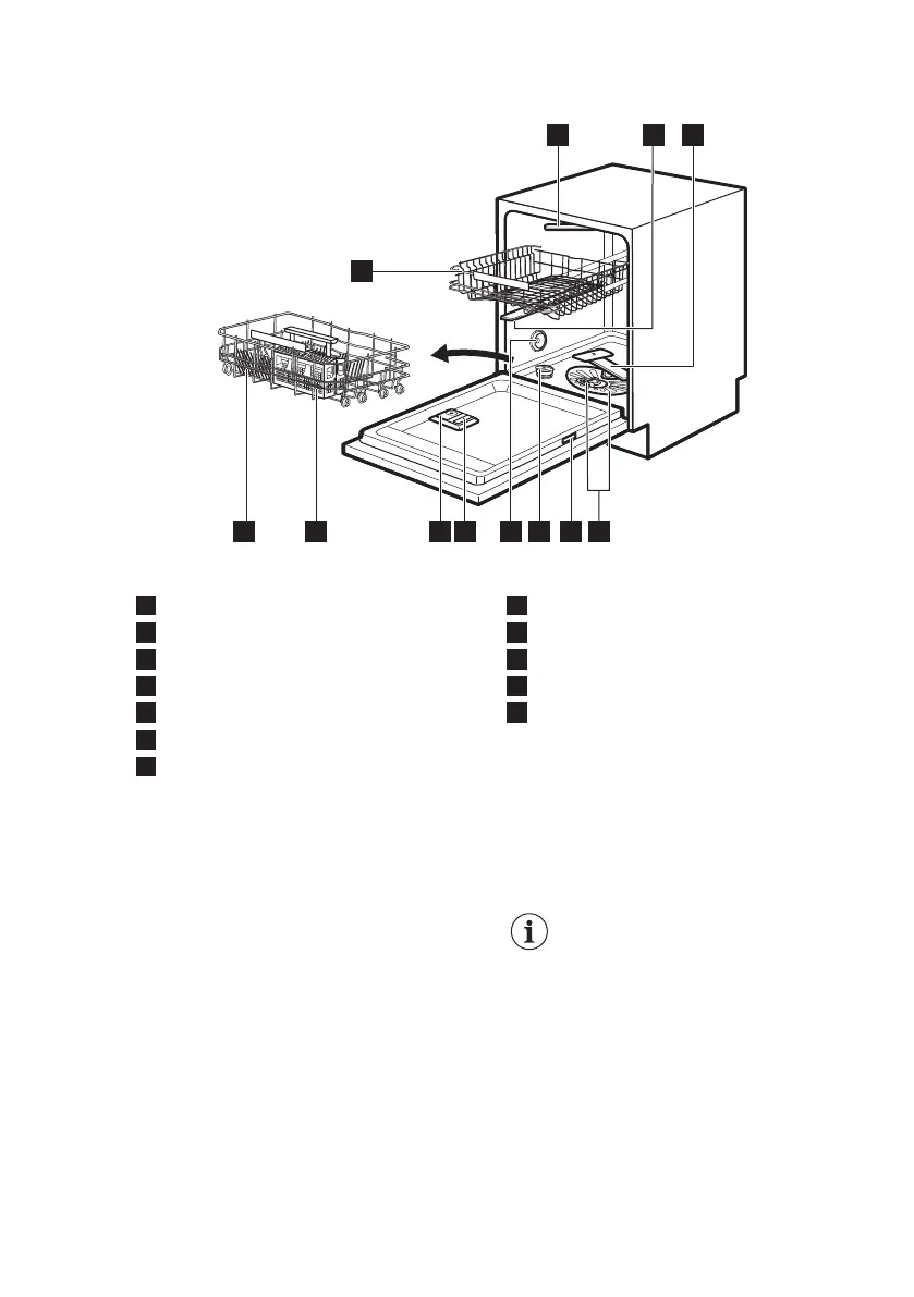
4. DESCRIPTION DE L’APPAREIL
5
4
67
9
8
12
2
3
1
11 10
1
Bras d’aspersion de plafond
2
Bras d’aspersion supérieur
3
Bras d’aspersion inférieur
4
Filtres
5
Plaque signalétique
6
Réservoir de sel régénérant
7
Fente d’aération
8
Distributeur de liquide de rinçage
9
Distributeur de détergent
10
Panier à couverts
11
Panier inférieur
12
Panier supérieur
4.1 Beam-on-Floor
Le faisceau Beam-on-Floor est une
lumière projetée sur le sol, sous la porte
de l'appareil.
Une lumière rouge apparaît lorsque le
programme démarre. Elle reste
allumée pendant toute la durée du
programme.
La lumière devient verte une fois le
programme est terminé.
La lumière rouge clignote lorsque
l'appareil rencontre une anomalie.
Le faisceau Beam-on-Floor
s'éteint lorsque vous mettez
à l'arrêt l'appareil.
www.aeg.com36

Related product manuals