EasyManua.ls Logo

AEONS Technologies Professional Series - Assembly Steps; Step 1: Install Mounting Rail and L Bracket

Default Icon
8 pages
Print Icon
To Next Page IconTo Next Page
To Next Page IconTo Next Page
To Previous Page IconTo Previous Page
To Previous Page IconTo Previous Page
Loading...
3
Assembly Steps
H
G
F
A
B
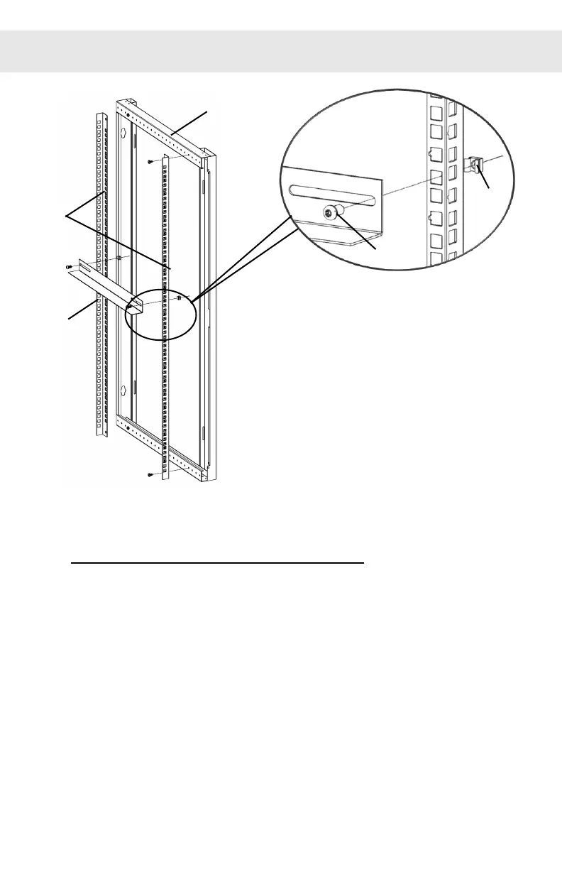
Step 1: Install Mounting Rail and L Bracket
Install the vertical Mounting Rails
H to the Side Frame
F
at the desired depth using M5.5 self-tapping screws
C
provided in the kit. Repeat on other Side Frame.
Mount the L Bracket
G to the vertical Mounting Rail
H at
desired height, using M6 screws
A and M6 Cage Nuts
B
provided. Repeat on other Side Frame.

Related product manuals