EasyManua.ls Logo

Agilent Technologies 6674A

Agilent Technologies 6674A
161 pages
To Next Page IconTo Next Page
To Next Page IconTo Next Page
To Previous Page IconTo Previous Page
To Previous Page IconTo Previous Page
Loading...
48 Troubleshooting
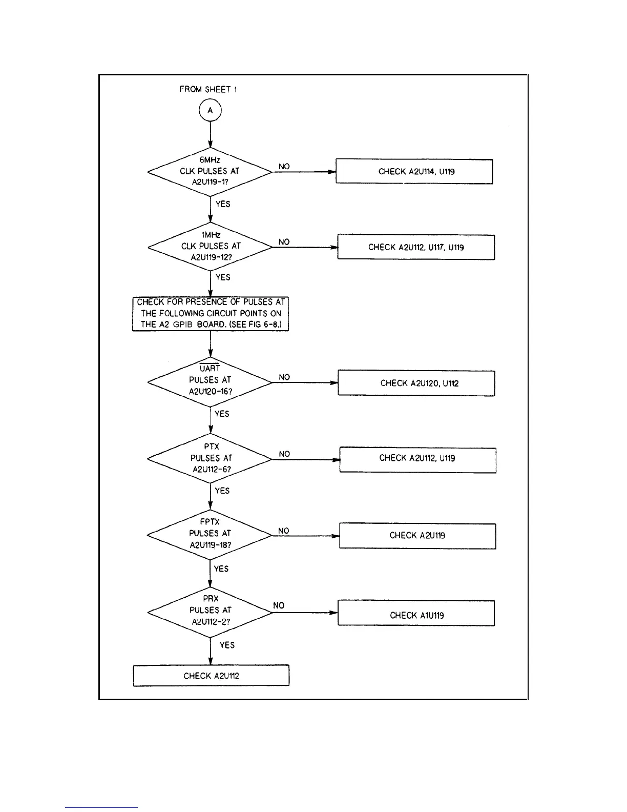
Figure 3-10. Serial Down Troubleshooting (Sheet 2 of 2)

Table of Contents

Related product manuals