EasyManua.ls Logo

Akai AP-005 - Page 14

Akai AP-005
31 pages
Print Icon
To Next Page IconTo Next Page
To Next Page IconTo Next Page
To Previous Page IconTo Previous Page
To Previous Page IconTo Previous Page
Loading...
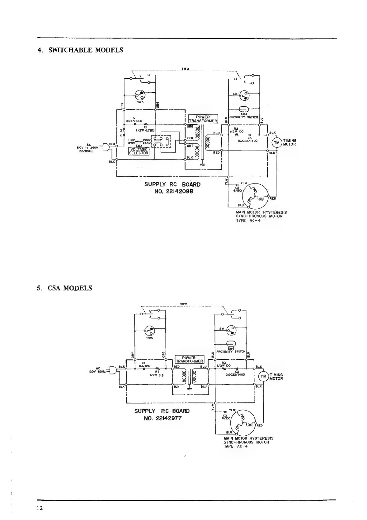
4.
SWITCHABLE
MODELS
TIMING
AC
MOTOR
HOV
to
240V
50/60Hz
SUPPLY
PC
BOARD
NO.
22142098
MAIN
MOTOR
HYSTERESIS
SYNC-HRONOUS
MOTOR
TYPE
AC-4
5.
CSA
MODELS
POWER
“|
TRANSFORMER
ac
oRee
BLU
120V
60Hz
SUPPLY
PC
BOARD
NO.
22142977
MAIN
MOTOR
HYSTERESIS
SYNC~HRONOUS
MOTOR
TAPE
AC~4
12

Other manuals for Akai AP-005

Related product manuals