EasyManua.ls Logo

Akai AP-M313

Akai AP-M313
17 pages
To Next Page IconTo Next Page
To Next Page IconTo Next Page
To Previous Page IconTo Previous Page
To Previous Page IconTo Previous Page
Loading...
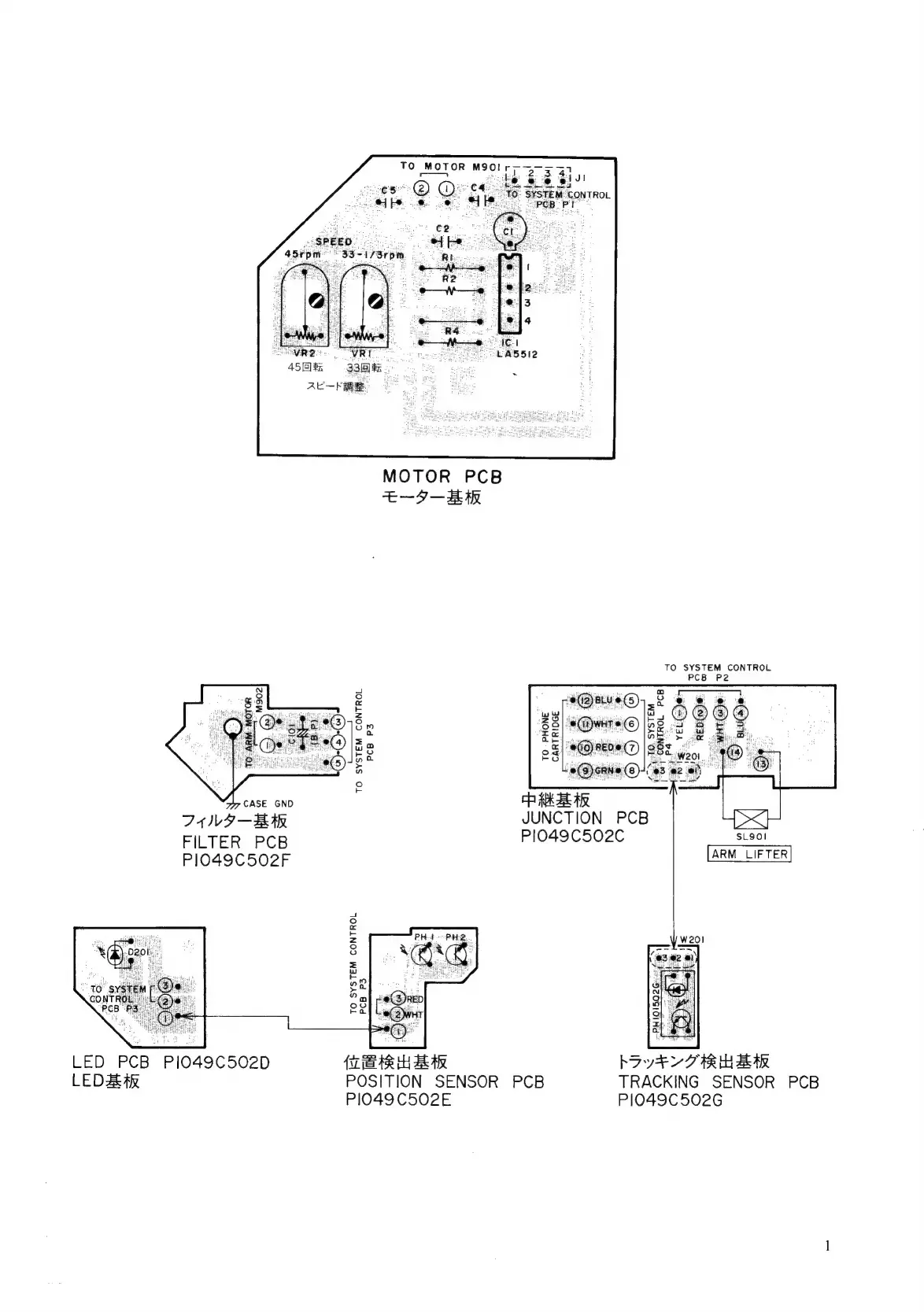
M-CONTROL
Pi
SPEED
45rpm
33-173r
MOTOR
PCB
t=—F—-—HiK
TO
SYSTEM
CONTROL
PCB
P2
)2
@78
»
38
Tv:
of
g
ae
H
i,
e
.
©
2%
Fol
ge
wv
e0
"
ch
Hk
HR
Trt
NA—EiK
JUNCTION
PCB
FILTER
PCB
PIO49C502C
SL9O!
PIO49C502F
LED
PCB
PIO049C502D
{iB
AR
HH
EAR
hIyE
VT
FRY
EAR
LEDER
POSITION
SENSOR
PCB
TRACKING
SENSOR
PCB
PIO49C502E
P1I049C502G

Related product manuals