EasyManua.ls Logo

Akai MX-550 - Page 8

Akai MX-550
92 pages
Print Icon
To Next Page IconTo Next Page
To Next Page IconTo Next Page
To Previous Page IconTo Previous Page
To Previous Page IconTo Previous Page
Loading...
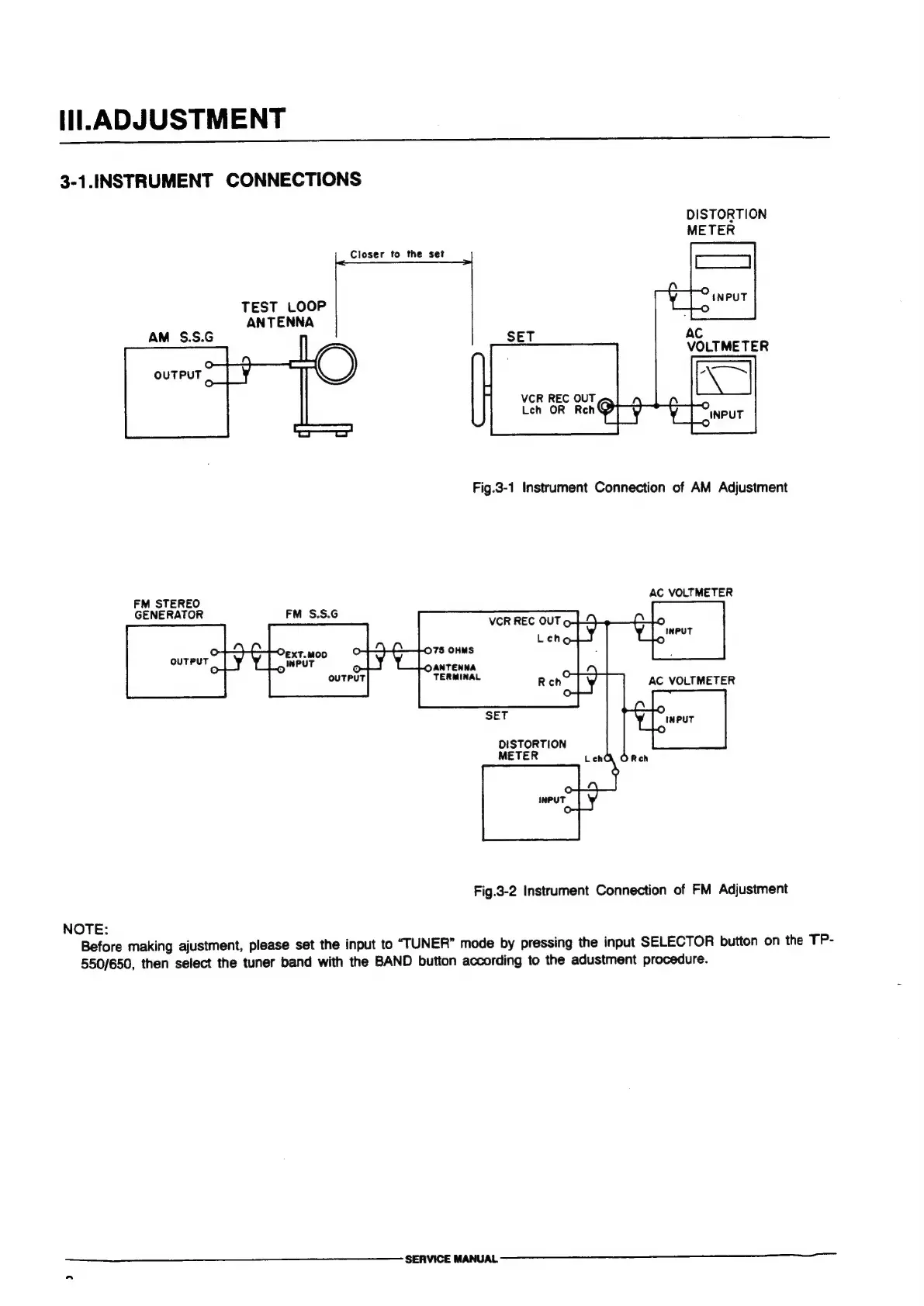
Il.ADJUSTMENT
3-1.INSTRUMENT
CONNECTIONS
DISTORTION
METER
Closer
to
the
set
TEST
LOOP
ANTENNA
AM
S.S.G
O
OUTPUT
4
VCR
REC
OUT
Lech
OR
Rch
Fig.3-1
instrument
Connection
of
AM
Adjustment
FM
STEREO
AC
VOLTMETER
GENERATOR
O
OUTPUT
)
Fig.3-2
Instrument
Connection
of
FM
Adjustment
NOTE:
Before
making
ajustment,
please
set
the
input
to
“TUNER”
mode
by
pressing
the
input
SELECTOR
button
on
the
TP-
550/650,
then
select
the
tuner
band
with
the
BAND
button
according
to
the
adustment
procedure.
——_—_
SERVICE
NU

Related product manuals