EasyManua.ls Logo

ALCATECH BPM STUDIO 4 PRO - Professional working with RCP-2001; 8.1. Working with Loop Player; 8.1.1. Recording and reproduction of the Loop:

Default Icon
144 pages
Print Icon
To Next Page IconTo Next Page
To Next Page IconTo Next Page
To Previous Page IconTo Previous Page
To Previous Page IconTo Previous Page
Loading...
124
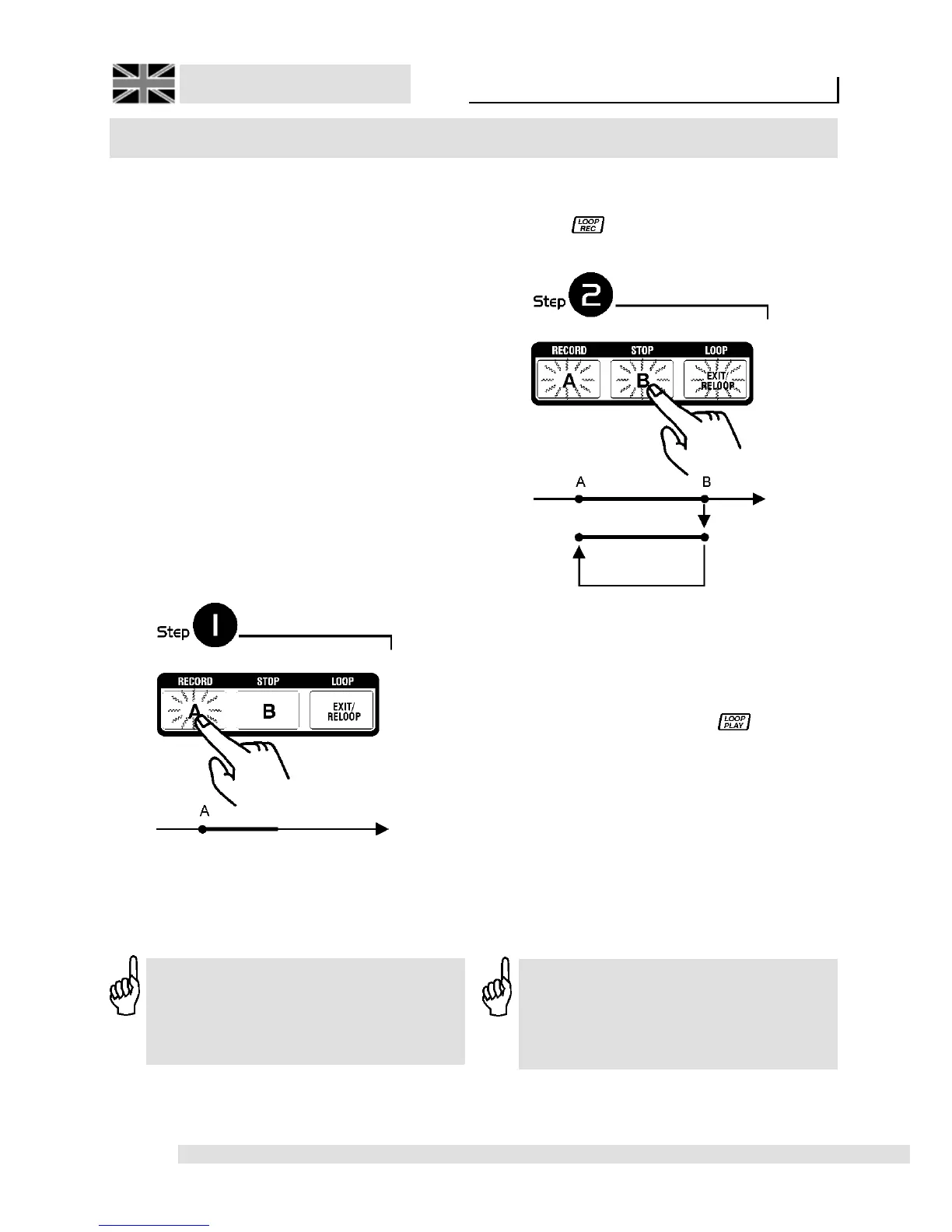
Press the[RECORD] key [6] to set the start point
of the sample (Point A) and to begin recording of
the sample. will be shown in display and the
A key shines.
Press (for example after exactly 4 beats or 1 tact)
the [STOP] key [7] to set the stop point of the
sample (Point B). Now, the Player goes
immediately into the Loop Mode and the stored
tact will be repeated constantly. is shown in
the display and the keys A and B are lighting in
orange, the [EXIT/RELOOP] key will light in
green. Simultaneously LOOP A <-> B will be
shown in the title display.
Using the Loop Player you can reapeat any
programmed sequence as often as you wish. Start
and exit points can be set on-the-fly and edited
any time later. Using the Tact-Stepping function
you can make each Loop wider or shorter in exact
steps of 4 Beats. Each Loop can be also stored
by the DirectCue key [15] or Sample Player key
[28] and will be also at the disposal again after
system restart.
8.1.1. Recording and reproduction
of the Loop:
Learn in this section how you can record a
sequence of the running title as Loop. The Player
has to be in reproduction mode. To make first
attempts, we recommend to use any title with well
recognizable Beat (Dance, House or Techno-
Track). It would be best if you try to press keys A
and B in the exact tact.
Professional working with RCP-2001
BPM Studio
8.1. Working with Loop Player
(only Remote Control RCP-2001)
As long as you pressed only the A key,
you can overwrite the old start point of
the Loop by pressing the A key anew and
you set new point on-the-fly.
As soon as the B key is pressed, you
can set the end point (B) on-the-fly by
pressing the B key and again and reduce
the Loop in this way.

Table of Contents