EasyManua.ls Logo

ALCATECH BPM STUDIO 4 PRO - 8.1.2. Recording using Auto-Loop function:

Default Icon
144 pages
Print Icon
To Next Page IconTo Next Page
To Next Page IconTo Next Page
To Previous Page IconTo Previous Page
To Previous Page IconTo Previous Page
Loading...
125
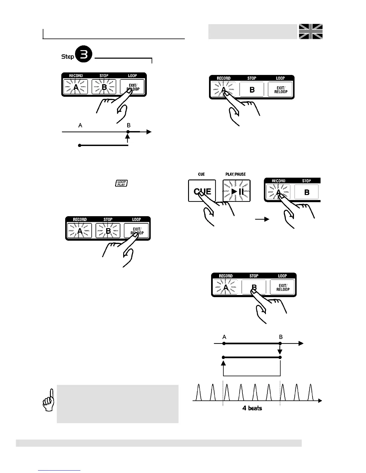
If you press the [EXIT/RELOOP] key, the sample
will be played up to the point B and then pass
seamless into the title again. In this time the
[EXIT/RELOOP] key and are blinking.
Finally all the three keys (A, B and [EXIT/
RELOOP]) are lighting in orange.
The Loop can be played again any time by
pressing the [EXIT/RELOOP] key.
8.1.2. Recording using Auto-Loop
function:
It is a little problematical to fix the end point of a
Loop manually exactly at the first attempt. The
Auto-Loop function of the BPM Studio helps at
this, while it automatically record a tact exactly
and then switches into the Loop-Play mode. Use
the Auto-Loop function as follows:
Professional working with RCP-2001
BPM Studio
Set a start point at any position by pressing the
A key. After that A key lights in orange.
Switch now to the Edit mode pressing the [CUE]
key ([CUE] key will light in red) and then the A
button. A key will start to blink. (This is usually
the Edit mode for the start point).
Press the B key. A Loop with exactly one tact (4
beats) is created automatically and played
instantly.
The DirectCue information cannot be
loaded into the Player in the Autofade
Mode. Please do NOT use this mode if
you want to use stored DirectCue’s.

Table of Contents