EasyManua.ls Logo

Alesis QUADRAVERB - 1.0 QuadraVerb General Description; 2.0 Power Supply; 2.1 Battery Backup; 3.0 Analog Signal Paths

Alesis QUADRAVERB
46 pages
Print Icon
To Next Page IconTo Next Page
To Next Page IconTo Next Page
To Previous Page IconTo Previous Page
To Previous Page IconTo Previous Page
Loading...
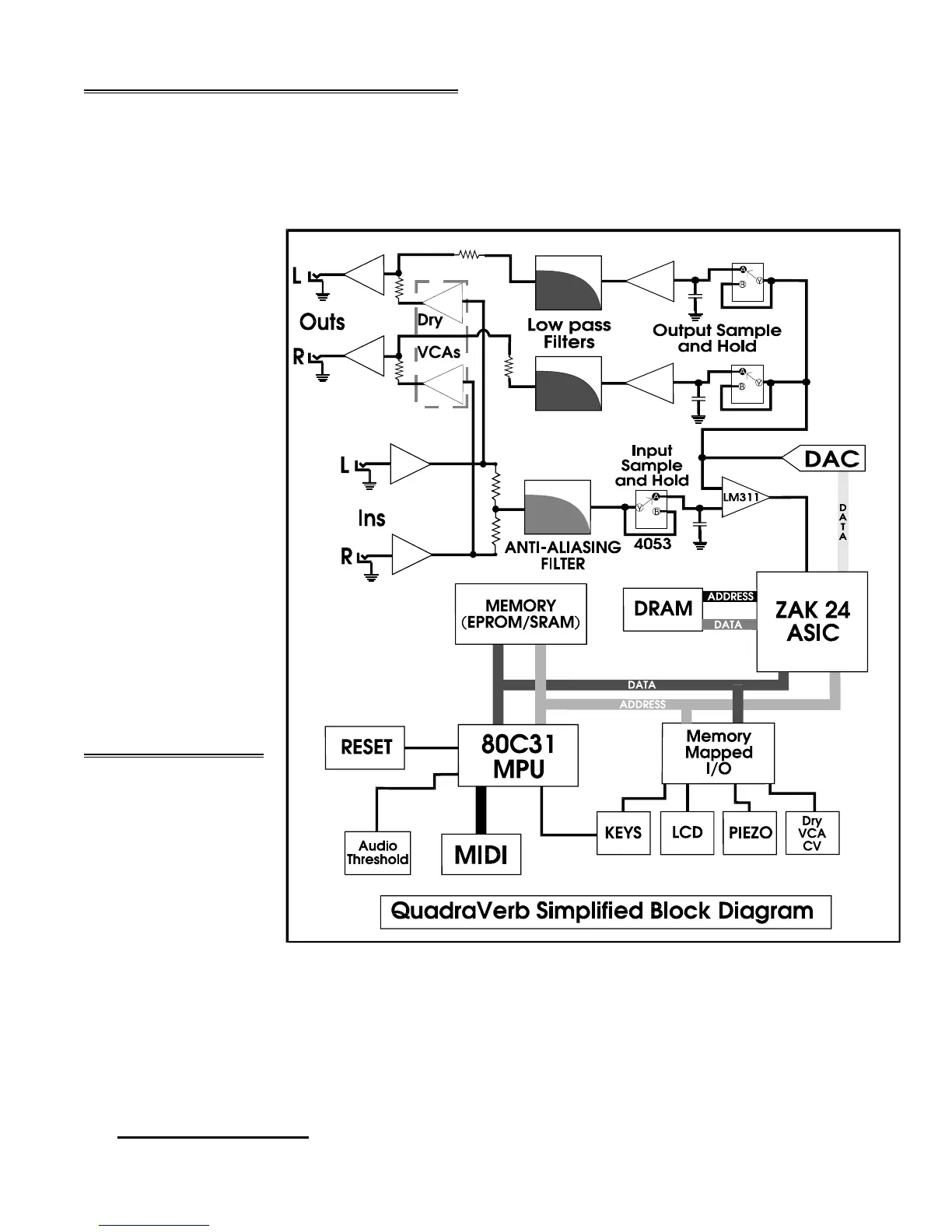
1.0 QuadraVerb General Description
The QuadraVerb, and other digital reverbs, achieve their results by slicing analog signals into
segments, and then converting them to a numeric value, corresponding to the amplitude of the signal
at that particular instant. These values are then mathematically manipulated, and stored at various
locations in a memory "loop" for eventual playback. By varying the placement and amplitude of
incoming samples, discrete time delays are achieved. When mixed together, and converted back into
analog, these delays simulate the reflections associated with natural reverbs, and delays, as well as
non natural effects
such as reverse
reverbs, and gated
reverbs. The added
capabilities of an
80C31 micro controller
allow for user
manipulation and
storage of algorithm
parameters, as well as
effects such as
chorus, and flange,
that require real-time
manipulation of
algorithms. Please
note that there are
several different main
PCB revisions, so
differences will be
noticed from unit to
unit.
Alesis QuadraVerb Service Manual------ 1 08/13/04
2.0 Power Supply
The power
supply begins with the
9 Volt A.C., adapter.
Input from J6 is R.F.
filtered by C31 before
on/off switch S1. From
there it is split for the
+12V, -12V, and +5V
rails. The +12V rail
consists of a voltage
doubler (C22, C24, and D13, D14), a 7812 regulator (U31), and filter caps (C3, C14). The -12V rail is
a "mirror" of the +12V rail, consisting of voltage doubler (C21, C23, and D10, D11), a 7912 regulator,
and filter capacitors (C7, and C15). The +5V rail consists of a rectifier diode (D12), filter capacitors
(C17-C20), a 7805 regulator, and a multitude of 0.1uF bypass capacitors. Note that the raw +10V
line used by the microprocessor reset, and the SRAM power supply (when retrofitted), and is located
at the input to the 7805 regulator.
Diagram 1
2.1
Battery Backup

Other manuals for Alesis QUADRAVERB

Related product manuals