EasyManua.ls Logo

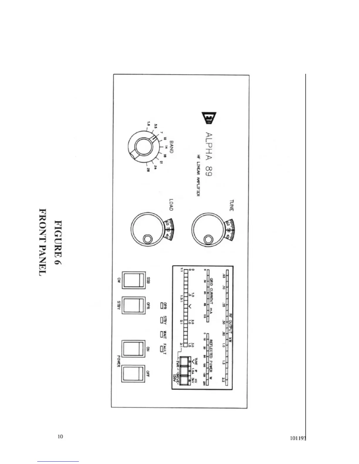
Alpha Power Alpha 89 - Figure 6 Front Panel; Fig. 6, Front Panel View

Default Icon
22 pages
Print Icon
To Next Page IconTo Next Page
To Next Page IconTo Next Page
To Previous Page IconTo Previous Page
To Previous Page IconTo Previous Page
Loading...

Related product manuals