EasyManua.ls Logo

Alto TX8 - Diagrama de Inicio; Conexión Rápida; Ejemplo A: 2 Altavoces; Ejemplo B: 2 Altavoces, 2 Extensiones

Alto TX8
28 pages
Print Icon
To Next Page IconTo Next Page
To Next Page IconTo Next Page
To Previous Page IconTo Previous Page
To Previous Page IconTo Previous Page
Loading...
9
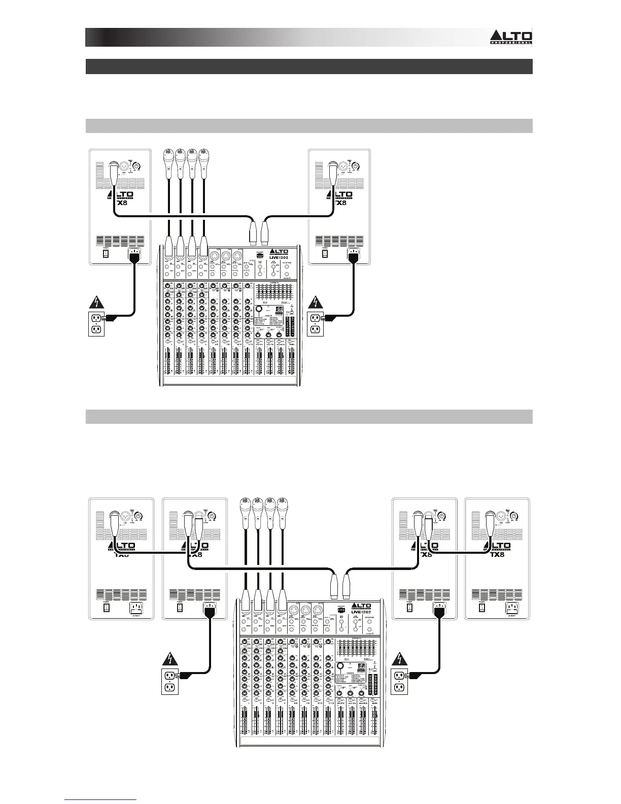
Diagrama de inicio / conexión rápida
Nota: Los elementos que no se enumeran en Contenido de la caja se venden por separado.
Ejemplo A: 2 altavoces
Conecte cada una de las
salidas principales de su
mezclador a una entrada de
un altavoz TX.
Ejemplo B: 2 altavoces, 2 extensiones
Conecte cada una de las salidas principales de su mezclador a una entrada de un altavoz TX.
Conecte cada una de las salidas Link de sus altavoces TX a las entradas de sus altavoces de
extensión.
Mezclador
Suministro
eléctrico
Micrófonos
(salidas principals
del mezclador)
Mezclador
Suministro
eléctrico
Micrófonos
(salidas principals
del mezclador)
Suministro
eléctrico
Suministro
eléctrico

Related product manuals