EasyManua.ls Logo

amzchef 704A/CF2 - Installation Procedures

amzchef 704A/CF2
17 pages
Print Icon
To Next Page IconTo Next Page
To Next Page IconTo Next Page
To Previous Page IconTo Previous Page
To Previous Page IconTo Previous Page
Loading...
Installation Procedures
Safety Warning: Hood may have very sharp edges. Please wear
protective gloves if it is necessary to remove any parts from
installing, c leaning or servicing.
Not level
Level
(C)
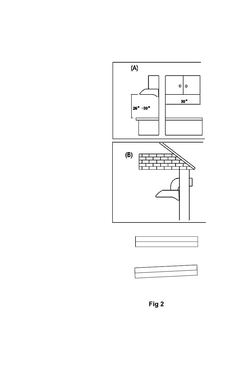
Installation Height
1. The distance between
the stove surface and
the underside of the
range hood must be in
the range of 26"-30"
Fig(2-A).
The duct opening size
is in Fig 2(B)
Vent duct length
2. The length of the
vent duct should be
minimized to avoid air
turbulence inside the
duct. (Fig (2-B).
Balance level:
3. The range hood must
be leveled during the
installation. An unleveled
installation hood may
cause improper operation,
leaks and oil spill over
from oil collectors.
Fig(2-C)
6"
6"
10
4. The air outlet must not be connected to the chimney flues or
combustion gas ducts. The air outlet must not be connected
to ventilation ducts for rooms in which fuel-burming appliances
are installed.

Related product manuals