EasyManua.ls Logo

AOMAGO L500 - Recording Operations

AOMAGO L500
22 pages
Print Icon
To Next Page IconTo Next Page
To Next Page IconTo Next Page
To Previous Page IconTo Previous Page
To Previous Page IconTo Previous Page
Loading...
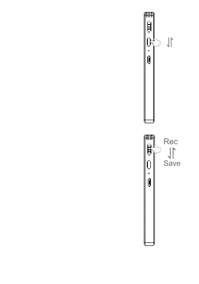
4Record:
3Switch On: Long press the power
button on the right side of the
product, it will display WELCOME.
Switch Off: Long press the power
button again to turn off the device,
the screen will show Bye Bye.
① Push up the button to REC,
it will start to recording and the
screen digits start to moving.
② Push down the button to
save the recording.
ON
OFF
Rec
Save
4

Related product manuals