EasyManua.ls Logo

Arachnid E650FSRT-BK2 - Page 13

Arachnid E650FSRT-BK2
20 pages
Print Icon
To Next Page IconTo Next Page
To Next Page IconTo Next Page
To Previous Page IconTo Previous Page
To Previous Page IconTo Previous Page
Loading...
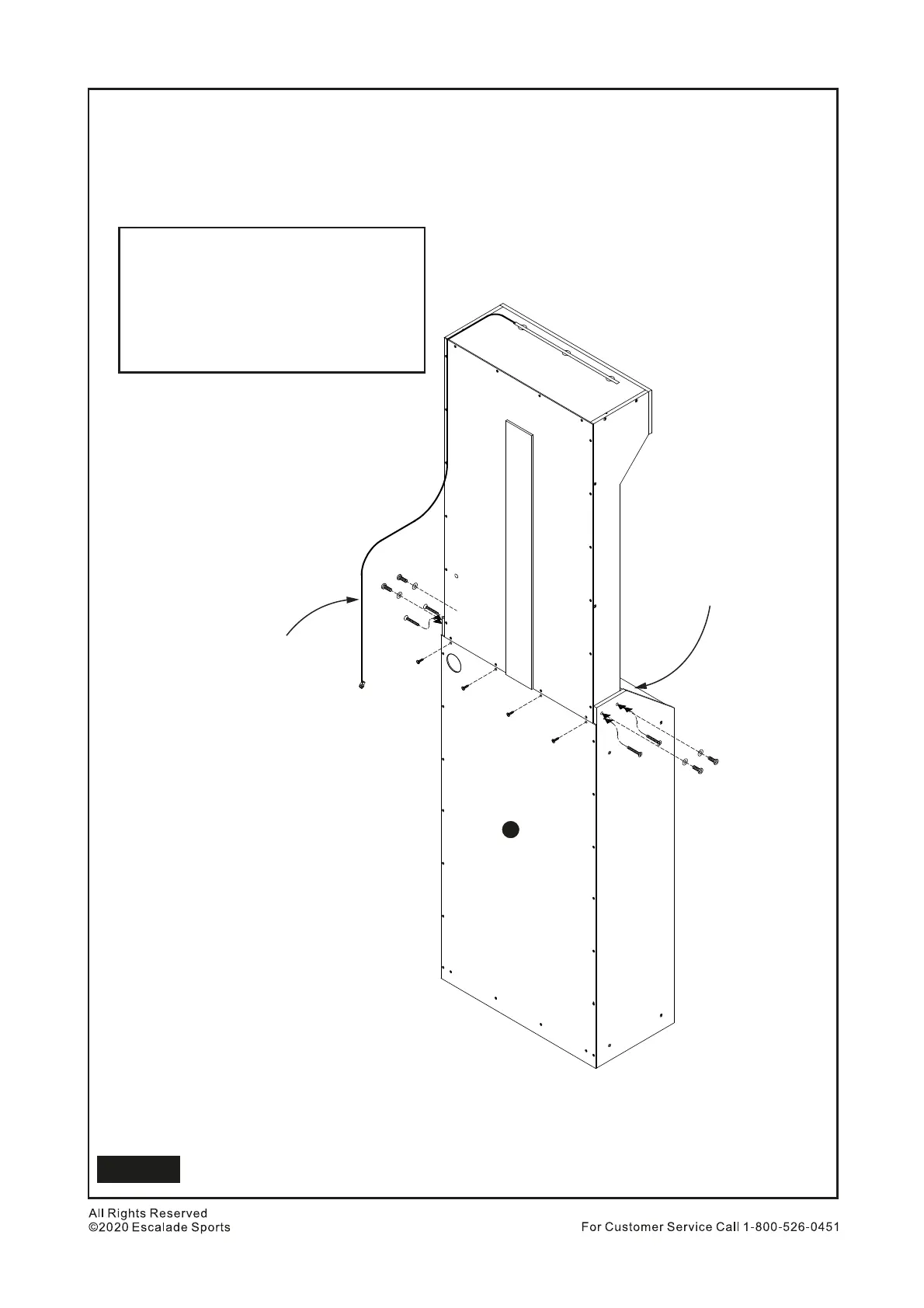
NOTE: With help from another adult, attach the Upper Cabinet Assembly to Lower Cabinet Assembly
using 4 pcs H5 Allen Head Bolts, 4 pcs H6 Flat Washer and 4 pcs H1 Bolts. Tighten H5 Bolts using
H15 Allen Wrench which is included in the Hardware Kit.
Install 4 pcs H9 Phillips Round Head Screw to Part F top side back of Lower Cabinet Assembly.
Do not strip out H9 Screws.
26.
27.
See Figure 13 for all these steps.
H1
H5
H6
H9
H15
Phillips Screw Driver
Phillips Flat Head Bolt - 4 pcs
Allen Head Bolt - 4 pcs
Flat Washer - 4 pcs
Phillips Round Head Screw - 4 pcs
Allen Wrench
PARTS REQUIRED
H1
H1
H1
H1
H5
H5
H5
H5
H6
H6
H6
H6
H9
H9
H9
H9
Figure 13
13
LED light wire on backside
Important Note:
Make sure Part M
Front Small Door is
open before attaching
the upper cabinet
F

Related product manuals