EasyManua.ls Logo

Areva S2DA - Page 45

Areva S2DA
100 pages
Print Icon
To Next Page IconTo Next Page
To Next Page IconTo Next Page
To Previous Page IconTo Previous Page
To Previous Page IconTo Previous Page
Loading...
INSTRUCTIONS FOR INSTALLATION AND MAINTENANCE
安装和维护说明手册
D0578-02-ZH
45/100
AREVA T&D S.p.A. – Via Meucci, 22 30020 Noventa di Piave (VE) ITALY – Tel. : 39 0421 309511 – Fax : 39 0421 65254
Subsidiary of AREVA T&D Italy SpA (AREVA group) with registered office in Via Meucci, 22 30020 Noventa di Piave (VE) - ITALY, under Art. 2359 of the Italian Civil Code.
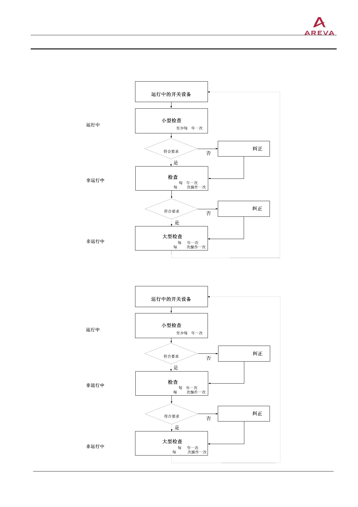
PREVENTIVE MAINTENANCE PLAN OF SWITCHGEARS
GUARANTEED UP TO 3,000 OPERATIONS
保证操作次数为 3000 次的开关设备预防性维护计划
3
SWITCHGEAR IN SERVICE
IN SERVICE
MINOR INSPECTION
min. every 3 years
OUT OF SERVICE
Compliant?
?
NO
YES
CORRECTION
6 /
1500
INSPECTION
every 6 years / 1500
operations
Compliant?
?
NO
YES
12 /
3000
MAJOR INSPECTION
every 12 years /
3000 operations
OUT OF SERVICE
CORRECTION
PREVENTIVE MAINTENANCE PLAN OF SWITCHGEARS
GUARANTEED UP TO 10,000 OPERATIONS
保证操作次数为 10000 次的开关设备预防性维护计划
4
SWITCHGEAR IN SERVICE
IN SERVICE
MINOR INSPECTION
min. every 4 years
OUT OF SERVICE
Compliant?
?
NO
YES
CORRECTION
8 /
5000
INSPECTION
every 8 years /
5000 operations
Compliant?
?
NO
YES
15 /
10000
MAJOR INSPECTION
every 15 years /
10000 operations
OUT OF SERVICE
CORRECTION

Table of Contents

Related product manuals