EasyManua.ls Logo

Ashley AP130 - Installation; Installation Options and Requirements

Ashley AP130
48 pages
Print Icon
To Next Page IconTo Next Page
To Next Page IconTo Next Page
To Previous Page IconTo Previous Page
To Previous Page IconTo Previous Page
Loading...
-4-
Installation Options
Read this entire manual before you install and use your pellet stove. Failure to follow instructions may result in
property damage, bodily injury, or even death!
(See specic installation details for clearances and other installation requirements)
A Freestanding Unit—supported by pedestal/legs and placed on a non-combustible oor surface in compliance
with clearance requirements for a freestanding stove installation.
An Alcove Unit—supported by pedestal/legs and placed on a non-combustible oor surface in compliance
with clearance requirements for an alcove installation.
Your pellet stove may be installed to code in either a conventional or mobile home (see SPECIAL MOBILE HOME
REQUIREMENTS). US Only Installation.
It is recommended that only a authorized technician install your pellet stove, preferably an NFI certied specialist.
IMPROPER INSTALLATION: The manufacturer will not be held responsible for damage caused by the malfunction
of a stove due to improper venting or installation. Call (800) 750-2723 and/or consult a professional installer if you
have any questions.
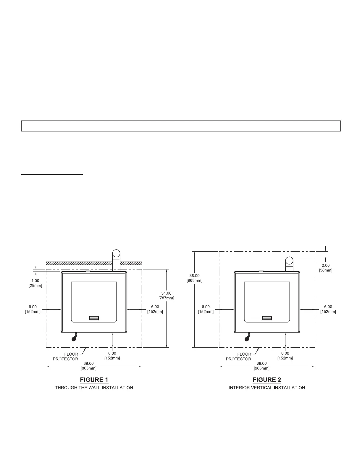
FLOOR PROTECTION
This unit must be installed on a non-combustible oor surface. If a oor pad is used, it should be UL listed or equal.
The oor pad or non-combustible surface should be large enough to extend a minimum of 6 in. (152.4mm) in
front, 6 in. (152.4mm) on each side, and 1 in. (25.4mm) behind the stove (see FIGURE 2).
Floor protection must extend under and 2 in. (50.8mm) to each side of the chimney tee for an interior vertical
installation (see FIGURE 2).
Your pellet stove will need a minimum 31” (787mm) x 38” (965mm) oor protector.
A Floor Protector of 1 inch (25.4mm) thick is recommended for this installation.
Canadian installations require 18” (450mm) in front of the unit.
CAUTION: Do not connect to or use in conjunction with any air distribution ductwork.
Installation

Other manuals for Ashley AP130

Related product manuals