EasyManua.ls Logo

Atag WIZE - Resetting the Exact Day and Time (E.g. Summer;Winter Time)

Atag WIZE
44 pages
Print Icon
To Next Page IconTo Next Page
To Next Page IconTo Next Page
To Previous Page IconTo Previous Page
To Previous Page IconTo Previous Page
Loading...
35
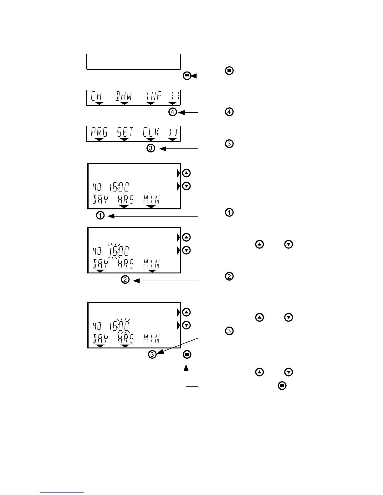
5.7 Resetting the exact day and time
(e.g. summer/winter time)
Youcansettherighttimeasfollows:
Press
;
Press
(»);
Press
(CLOCK);
Press
(DAY)andthe
dayindicatorstartsashing.
Set the correct day using
the arrow keys
and .
Press
(HOUR)and
the hour indicator starts
ashing.
Set the correct hour using
the arrow keys
and .
Press
(MIN)andthe
minute’s indicator starts
ashing.
Set the correct time using
the arrow keys
and .
Press the menu key (
)
again and the adjusted time
has been set.

Related product manuals