EasyManua.ls Logo

AT&T CL84202 - Wall Mount to Tabletop Installation

AT&T CL84202
117 pages
To Next Page IconTo Next Page
To Next Page IconTo Next Page
To Previous Page IconTo Previous Page
To Previous Page IconTo Previous Page
Loading...
Getting started
11
Installation options
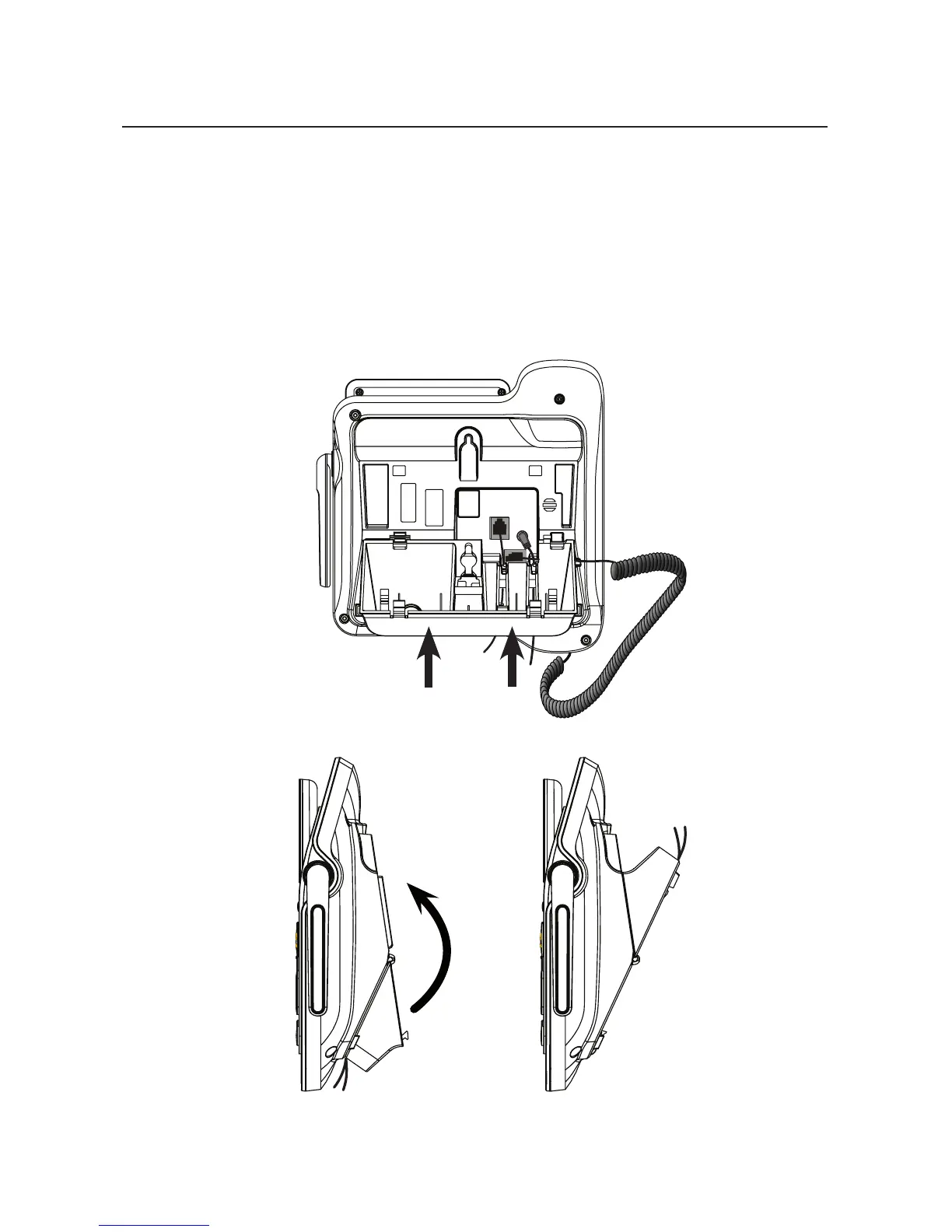
Wall mount to tabletop installation
To change the telephone base from the wall mount position to tabletop position:
1. Remove the telephone base from the wall.
2. If necessary, untie the bundled telephone cord and power adapter cord.
Make sure that you unplug the power adapter and telephone line cord
from the wall outlets before you begin.
3. Push as indicated by arrows in the illustration until the bracket is released,
and then rotate it upward until it clicks into the tabletop position.
Table mount
Wall mount
Side view
Bottom view

Table of Contents

Other manuals for AT&T CL84202

Related product manuals