EasyManua.ls Logo

Atlantic CMG-BD0 - Page 12

Atlantic CMG-BD0
28 pages
Print Icon
To Next Page IconTo Next Page
To Next Page IconTo Next Page
To Previous Page IconTo Previous Page
To Previous Page IconTo Previous Page
Loading...
RU
12
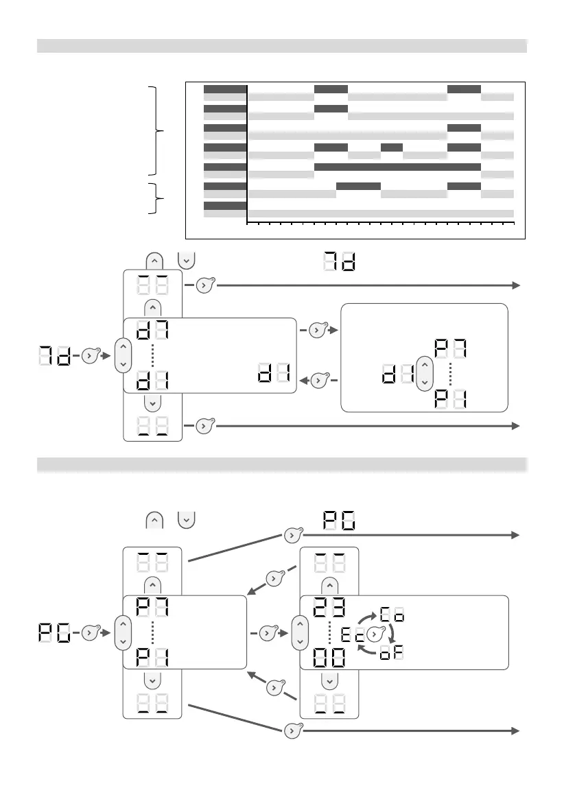
ВЫБОР ПРОГРАММЫ НА КАЖДЫЙ ДЕНЬ НЕДЕЛИ
На приборе предварительно установлено 7 программ. По умолчанию, программы
уже назначены на каждый день недели:
Понедельник
d1
P1
P1
Комфорт
18ч
Эко
21ч
Вторник
d2
P2
Комфорт
Эко
Среда
d3
P3
Комфорт
18ч
Эко
21ч
Четверг
d4
P4
Комфорт
12ч
18ч
Эко
14ч
21ч
Пятница
d5
P5
Комфорт
Эко
0ч
21ч
Суббота
d6
P6
P6
Комфорт
18ч
Эко
12ч
21ч
Воскресение
d7
P7
Комфорт
Эко
12ч
18ч
24ч
Вы можете изменить назначение этих программ на нужный вам день.
Используя кнопки и , выберите параметр
Повторите эти действия для выбора программы на другие дни недели.
ИЗМЕНЕНИЕ ПРОГРАММ
Вы можете изменить 7 предварительно установленных программ. Для каждой
программы (от P1 до P7) вы можете выбрать режим работы почасово (от 0 до 23
часов).
Используя кнопки и , выберите параметр
Повторите эти действия для изменения других программ
Выберите программу от P1
до P7 на выбранный день
Выберите день для
программирования
например
понедельник
Выберите
программу
для
изменения
Выберите режим
работы для
каждого часа

Related product manuals