EasyManua.ls Logo

Atlas Copco LT55

Atlas Copco LT55
48 pages
To Next Page IconTo Next Page
To Next Page IconTo Next Page
To Previous Page IconTo Previous Page
To Previous Page IconTo Previous Page
Loading...
2920 1257 04
25
Instruction book
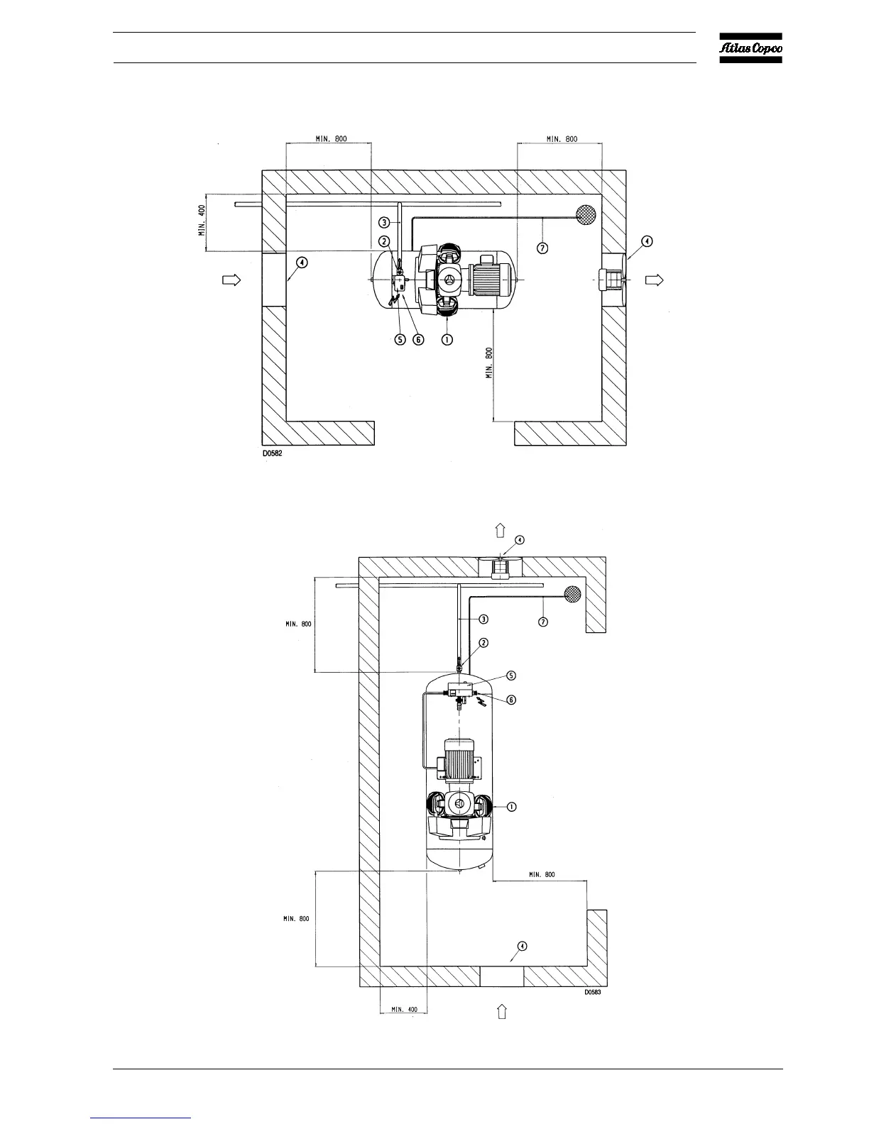
2.2 Installation proposals
Fig. 2.16 Installation proposal for Complete Unit (120 l receiver)
Fig. 2.17 Installation proposal for Complete Unit (250/475 l receiver)

Table of Contents

Related product manuals