EasyManua.ls Logo

Audio Technica AT-LP3WH

Audio Technica AT-LP3WH
104 pages
To Next Page IconTo Next Page
To Next Page IconTo Next Page
To Previous Page IconTo Previous Page
To Previous Page IconTo Previous Page
Loading...
4
ES
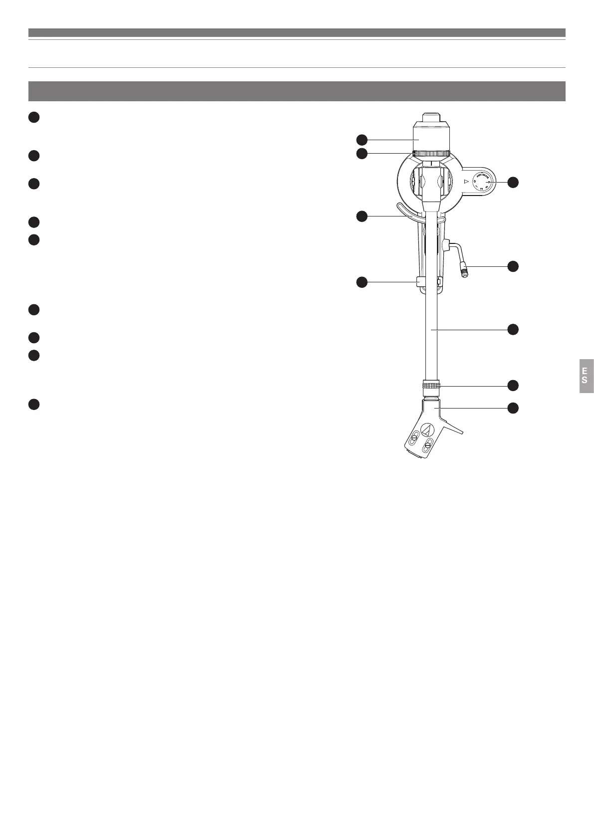
Nombre y funciones de los componentes
Brazo fonocaptor
1
2
3
5
6
8
4
9
7
1
Contrapeso
Equilibra el brazo fonocaptor y se ajusta para proporcionar la fuerza de
seguimiento correcta.
2
Anillo calibrador de fuerza de seguimiento
Utilícelo para ajustar la fuerza de seguimiento.
3
Elevador del brazo fonocaptor
Desplaza el brazo fonocaptor verticalmente hacia y desde la cara del
disco.
4
Soporte del brazo fonocaptor
5
Selector de control “anti-skate” o de compensación de
la fuerza lateral
Durante la reproducción del disco, una fuerza actúa sobre la punta de
la aguja que tira de ella hacia dentro. Dicha fuerza puede compensarse
estableciendo los mismos valores “anti-skate”, o de compensación de la
fuerza lateral, y de fuerza de seguimiento.
6
Palanca de control del elevador del brazo fonocaptor
Acciona el elevador del brazo fonocaptor.
7
Brazo fonocaptor
8
Anillo de bloqueo
Gire el anillo hacia la izquierda (sentido antihorario) para fijar el
portacápsulas. Para retirar el portacápsulas, gire el anillo hacia la
derecha.
9
Portacápsulas y cápsula
La cápsula (AT91R) está instalada en el portacápsulas (AT-HS3).

Table of Contents

Related product manuals