EasyManua.ls Logo

AudioSource AMP200 - System Setup Configurations; Stereo Setup and Speaker Connection; Bridged Mono Setup and Wiring; Multi-Source and Distributed Audio Setup

AudioSource AMP200
6 pages
Print Icon
To Previous Page IconTo Previous Page
To Previous Page IconTo Previous Page
Loading...
6
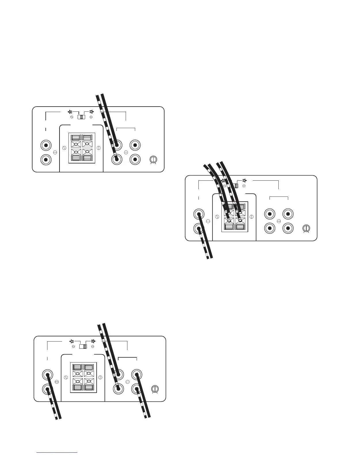
Stereo Setup
In this configuration, the mono switch is set to stereo for
stereo operation. Connect the line out jacks from a stereo
preamplifier or source to the Line 2 input jacks of your
AMP200. Next connect your speakers to the terminals marked
“SPEAKER A observing proper polarity (see “Speaker Termi-
nals” Page 5). Connect a second (optional) pair of speakers to
the terminals marked “SPEAKER B”. Select between the “A
and/or “B” speakers using the front panel speaker selection
buttons.
Mono Setup
In this configuration, the mono switch is set to bridged.
Connect the line out from a preamplifier to the right and left
Line 2 input of your Amp200. Connect your mono speaker to
the terminals of your Amp200, following the instructions in
“Speaker Terminals” on Page 4. Use the “Master Level” controls
on the rear panel to adjust the volume. Leave the balance set
to the center detent position.
Setup For Multiple Sources
In the application shown below, a distributed audio system is
connected to the AMP200 as a local zone amplifier via the Line
2 inputs. Normally the distributed audio system will be the
audio source for the AMP200.
The distributed audio is then passed on to be used by
additional zones or sub zones in the distributed system via
the Line 2 outputs.
The Audio output of a local source, such as MP3 Player, CD,
television, computer, etc. is connected to the AMP200 via the
Line 1 inputs, and whenever the local source is active its signal
will take priority over the distributed audio signal present at
Line 2 . However, the distributed audio signal will still be
present at the Line 2 input. In this circumstance the audio
output of the local source will be heard via the AMP200. Once
the local source is turned off or muted, the AMP200 will
automatically switch back the distributed audio system as an
audio source, assuming the television is remains inactive. The
delay time adjustment determines when switch back to the
normal source will occur.
This set up assumes all incoming signals are at line level and
not at speaker level. If the Whole House Distributed Audio was
only available as a Speaker Level signal you could connect it
the “Speaker In” connections and set the switch above to the
“Line 2” position, or toward the right hand position of the
switch.
The AMP 200 will no longer be able to pass the Whole House
Distributed Audio to another zone via the Line 2 Output.
If you have any questions regarding how to set this up, please
call Phoenix Gold Tech support at 800.950.1449.
L
R
L
R
Line 1
Line 2
S peaker In
IN
IN
Out
+
+
_
_
RL
Delay
Time
3 Sec 15 Sec
Line 2
Line 1
To Source
L
R
L
R
Line 1
Line 2
Speaker In
IN
IN
Out
+
+
_
_
RL
Delay
Time
3 Sec 15 Sec
Line 2
Line 1
Whole House
Distributed Audio
Whole House
Distributed Audio
Local Source
Audio Out
L
R
L
R
Line 1
Line 2
Speaker In
IN
IN
Out
+
+
_
_
RL
Delay
Time
3 Sec 15 Sec
Line 2
Line 1
Whole House
Distributed Audio
Local Source
Audio Out
R
L

Related product manuals