EasyManua.ls Logo

Audison LRX 6 SR - Description

Audison LRX 6 SR
10 pages
Print Icon
To Next Page IconTo Next Page
To Next Page IconTo Next Page
To Previous Page IconTo Previous Page
To Previous Page IconTo Previous Page
Loading...
4
DESCRIPTION
Audison LRx 6.SR:
Six channel car power amplifier characterised by excellent musical performances, small size and
outstanding energy reserve.
Its PWM power supply stage is made with two pairs of 70A MOSFETs; it is stabilised and oversize.
Input stage is provided with a special circuit (LNS) which allows the system disturbances rejection,
reducing noise that is usually due to the vehicle electric parts (alternator, electronic injection, etc.),
without altering musical signal quality.
Driver stage is characterised by a very linear circuitry; it has coupled differential transistors and an A
Class complementary voltage amplifier. Power section has Darlington configuration with high gain and
SOA (Safety Operation Area) BJT TO247. Thanks to its great capacity to supply current, this amplifier can
easily drive even the hardest loads and satisfy whatever power needs. It can give 55W on Front, Rear and
Center channels and 150W on sub with 4 Ohm load, 80W on Front, Rear and Center channels and 220W
on sub at 2 Ohms in continuous mode. Differently from what occurs with other amplifiers, LRx 6.SR is not
blocked by protection systems immediately below these load values. Its exclusive “Overload Limiter
circuit allows it to go on working, limiting output power and pointing out how hard the applied load is
by the “Limit LED blinking.
Its big power reserve, its constant control at low frequencies and its exquisite timbre qualities make it an
ideal amplifier to realise systems designed to attain outstanding musical features and very high sound
pressures (SPL).
LRx 6.SR has a bypass subsonic filter (24dB/Oct.) with adjustable frequency, pre-set at 20Hz, and four
Butterworth crossovers with independent frequencies; three are HI-PASS (12dB/Oct.), the fourth is
LO-PASS (24dB/Oct.).
In case LRx amplifiers are used in extremely difficult conditions (very low loads) or in installations where
space is too narrow and their heat sink cooling is not enough, they can be employed together with
CLK2 cooling system (optional). It is a system made of two units to apply onto the amplifier sides; each
of them is provided with an electronically controlled fan that allows the amplifier thermal stabilisation
(see “CLK2 – LRx Cooling Kit”).
Protection includes:
RGP (Resettable Ground Protection) circuit; in case a short circuit occurs between loudspeakers outputs
and car chassis, it detects a high current flow in the pre-input ground and acts by putting the amplifier in
stand-by, protecting its circuitry;
• a device against short circuits and against DC in the outputs, to protect loudspeakers;
• a device that detects the amplifier temperature excessive increase and stops its functioning until
optimal conditions occur again.
Once the causes which implied protection circuits intervention have been checked and solved, the
amplifier is reset by switching it off and on again.
The amplifier is also provided with another general protection which is insured by an internal strip fuse,
very easy to reach.
Optional:
The following devices are available upon request:
1 - Three kits for subwoofer volume remote control:
• VCR01 and VCRAK (analogue and specific for subwoofer);
• VCRDK (digital; it can be used for master volume control or for level control of any ways in a
multichannel system).
2 - CLK2 cooling system.
17
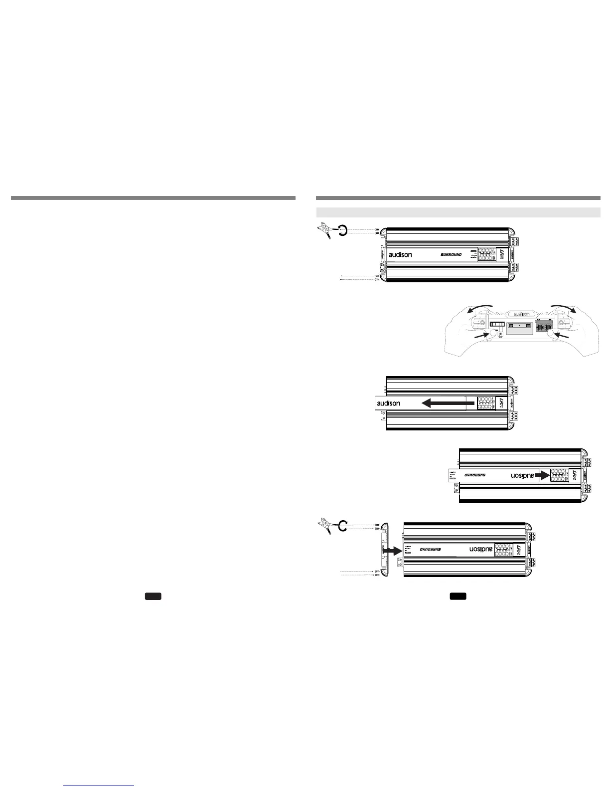
INSTALLATION
LOGO ROTATION
1 - Remove the transparent
cover which protects
controls and then the 4
screws which block the
metal plate by using
multispanner.
FUSE
POWER
IN OUT
REMOTE
2 - Remove the plate without damaging the
silkscreen printed panel which will have to
stay on. We suggest that you seize both plate
grips with your hands and pull them by
blocking the silkscreen printed panel with
your fingers against the amplifier chassis at
the same time. This will permit to remove the
plate from the panel without damages.
3 - Remove the strip with
audison logo.
5 - Mount the plate
back by fixing it
through the screws;
then, re-assemble the
transparent cover
which protects
controls.
4 - Put the strip back again after turning it, so
that audison logo is upside down.

Related product manuals