EasyManua.ls Logo

AURATON 2025 RTH - Weekly Programming and Program Selection

AURATON 2025 RTH
32 pages
Print Icon
To Next Page IconTo Next Page
To Next Page IconTo Next Page
To Previous Page IconTo Previous Page
To Previous Page IconTo Previous Page
Loading...
16 17
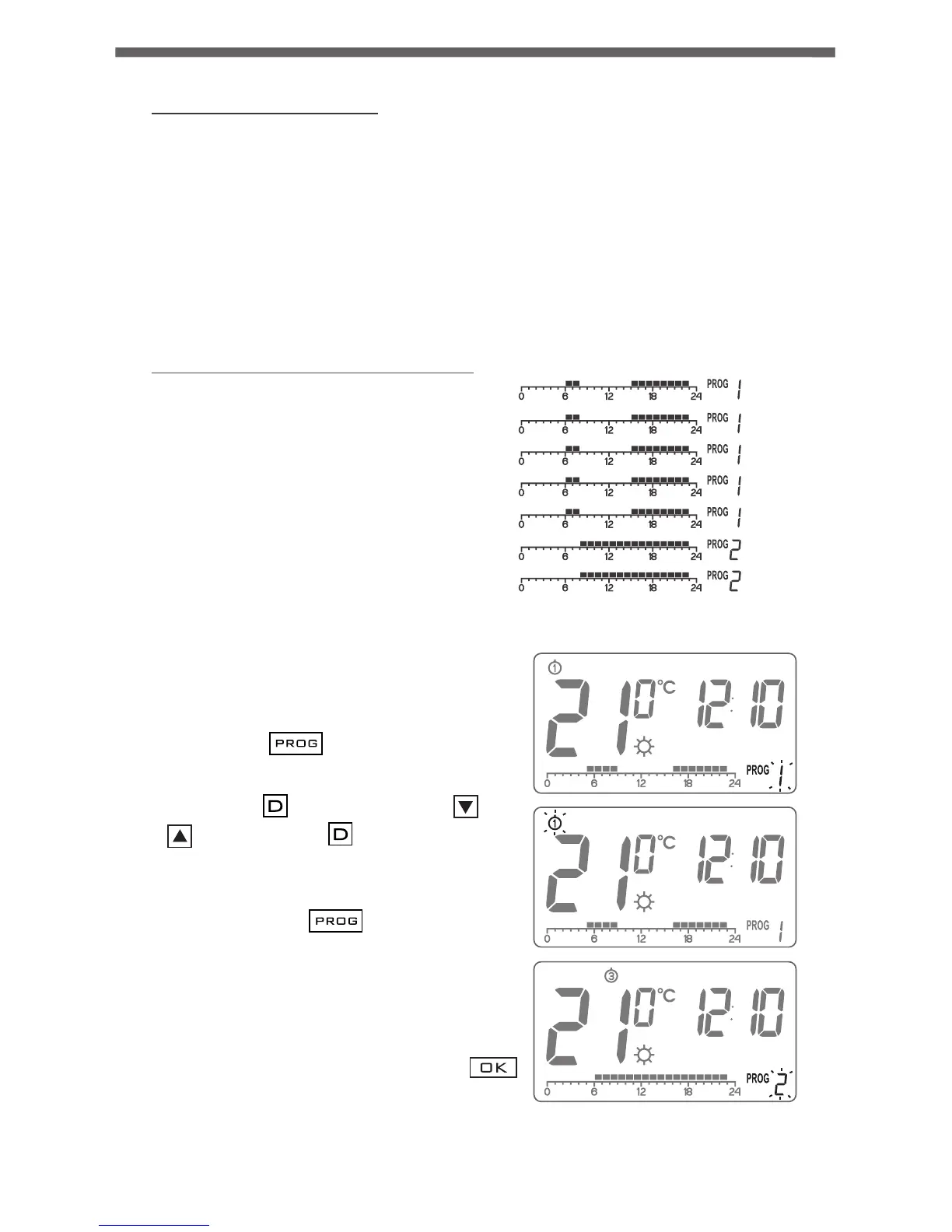
MODIFYING A USER-DEFINED PROGRAM (prog. 3...9)
In order to modify a program:
1. Press the button. The program
description field starts flashing.
2. Press the button. Using the and
buttons or the button, set the day
of the week when the program should be
executed.
3. Pressing the button several
times, select programs number 3-9
(user-defined)
4. All (24) rectangles will be lit on the time
line. One rectangle corresponds to one
hour. If a rectangle is visible, the day
temperature will be maintained during
the corresponding hour. A turned off
rectangle indicates that the night
temperature will be maintained.
In the picture, the first rectangle flashes -
a flashing rectangle indicates the point
on the time line where the change
is being made.
PROG
D ‚,,,,
..... D
PROG
5. Pressing the or button, select the day temperature (visible
rectangle) or the night temperature (turned off rectangle).
6. Using the and buttons, highlight consecutive hours on the time
line, and for each hour select the day or night temperature (a currently
selected rectangle is turned on or off with the or button,
respectively).
7. Having modified the entire time line, save the program with the
button.
NOTE: Once modified, the program can be assigned to other days of the
week by selecting it for that day.
,,,,,‚ .....
OK
SELECTING A PROGRAM
In order to select a program:
1. Press the button. The program
description field starts flashing.
2. Press the button. Using the and
buttons or the button set the day
of the week when the program should be
executed.
3. Pressing the button several
times, select the desired program
number. Programs no. 0-2 are factory-
defined and programs no. 3-9 can be
modified.
4.
PROG
D ,‚,,,
.... D
PROG
Confirm the setting with the
button.
OK
Weekly programming
In order to program the regulator, it is necessary to decide on which day of
the week and during what period of time the day temperature should be
maintained. During the remaining time, the night temperature will be
maintained.
An exemplary mode of operation of the regulator from Monday until
Sunday. Besides the defined periods of time, the regulator maintains the
lower night temperature.
Day of week Day temperature
Monday 6:00 8:00; 15:00 23:00
Tuesday 6:00 8:00; 15:00 23:00
Wednesday 6:00 8:00; 15:00 23:00
Thursday 6:00 8:00; 15:00 23:00
Friday 6:00 8:00; 15:00 23:00
Saturday 8:00 23:00
Sunday 8:00 23:00
PROGRAMMING
5. Return to step 1 and repeat the above procedure for the next day of the
week. Programming can end when each day of week is assigned
an appropriate program.

Table of Contents

Related product manuals