EasyManua.ls Logo

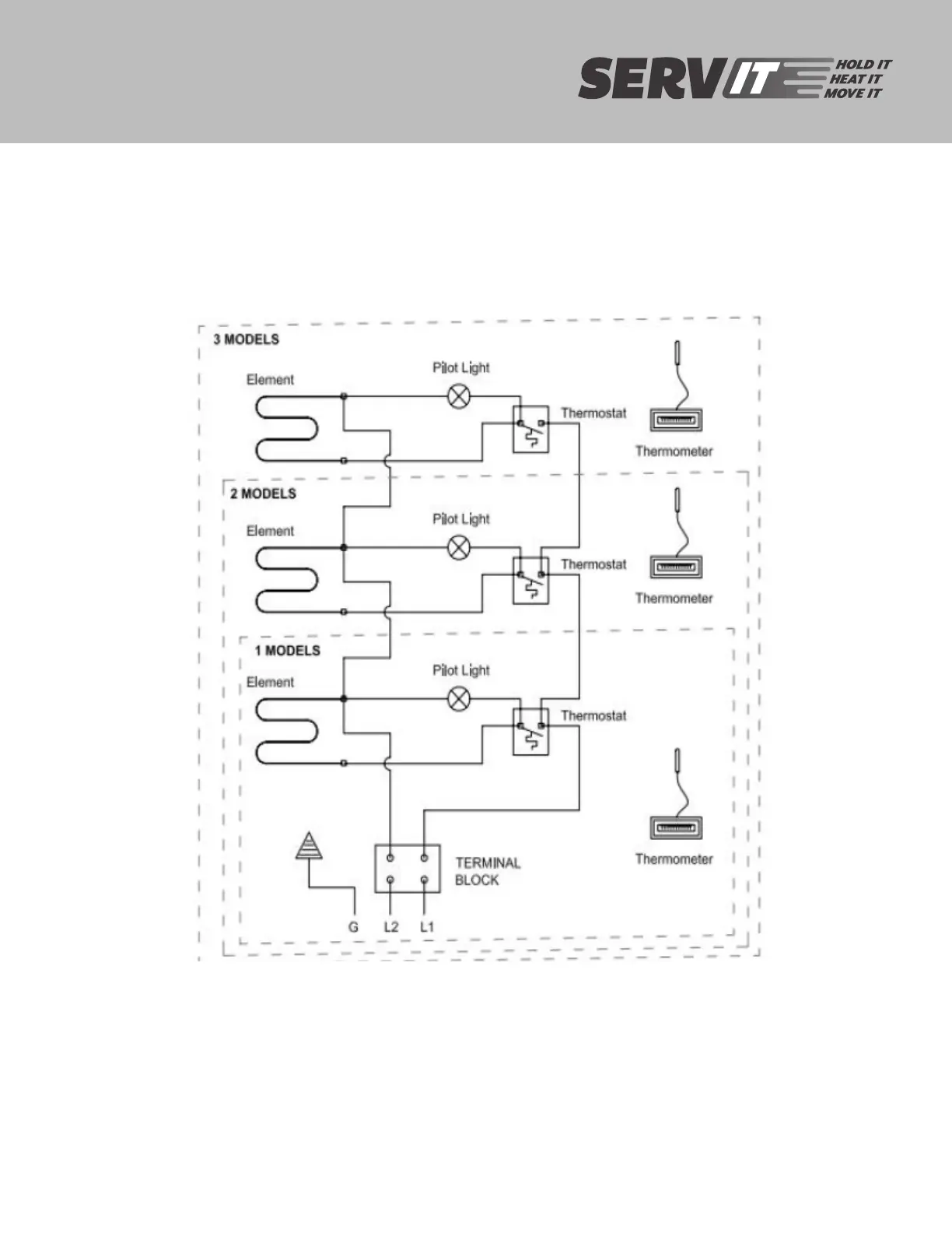
Avantco 178SSPPT1 - Drawer Warmer Wiring Diagram

Avantco 178SSPPT1
33 pages
Print Icon
To Next Page IconTo Next Page
To Next Page IconTo Next Page
To Previous Page IconTo Previous Page
To Previous Page IconTo Previous Page
Loading...
12
USER MANUAL
DRAWER WARMER WIRING
DIAGRAM

Related product manuals