EasyManua.ls Logo

Backyard Discovery 55006 - Page 35

Backyard Discovery 55006
63 pages
Print Icon
To Next Page IconTo Next Page
To Next Page IconTo Next Page
To Previous Page IconTo Previous Page
To Previous Page IconTo Previous Page
Loading...
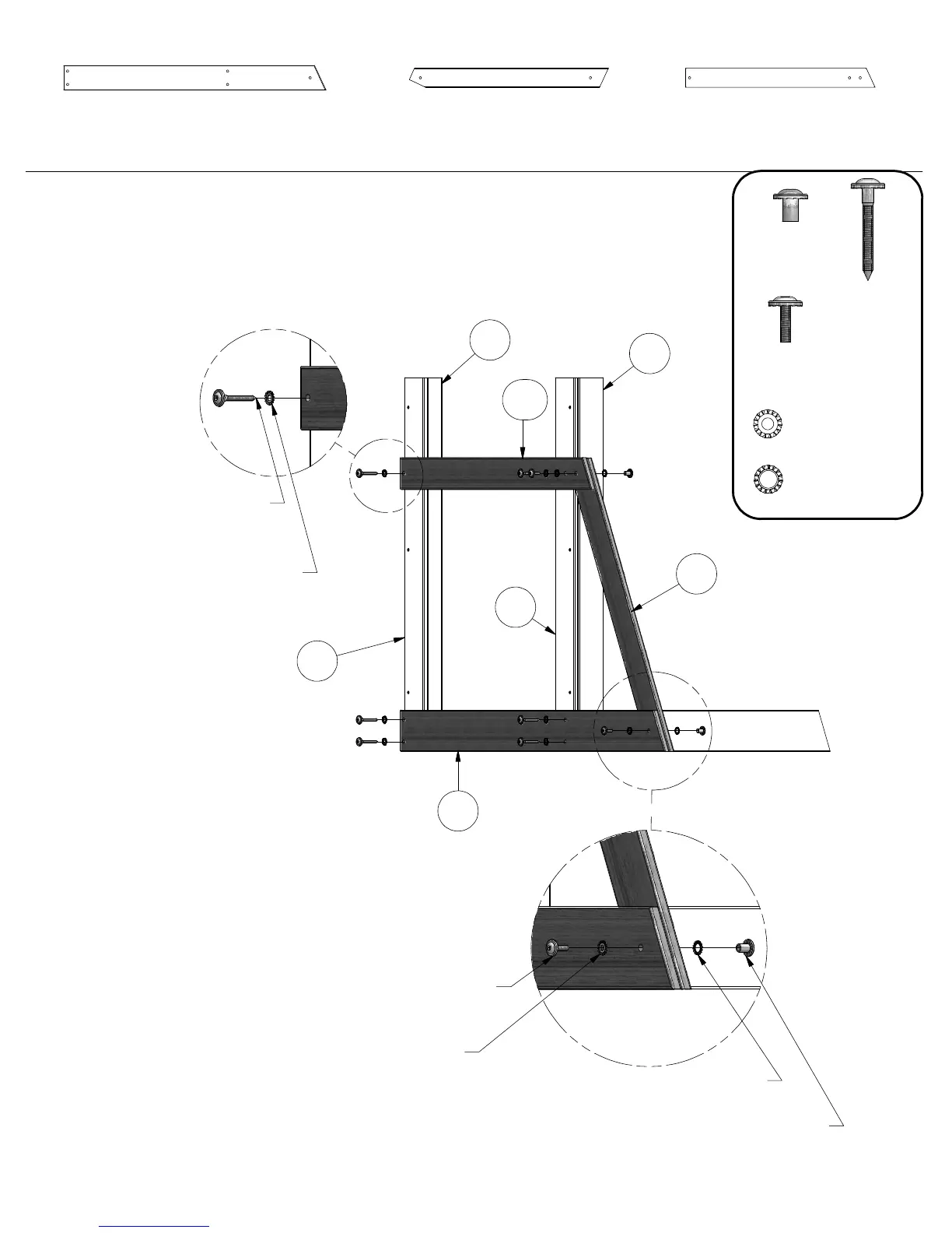
STEP 4
ATTACH M10 AND L3 BOARDS TO THE M5 BOARDS USING HARDWARE AS
SHOWN THROUGH PRE DRILLED HOLES.
ATTACH M9 BOARD TO THE M10 AND THE L3 BOARD USING HARDWARE AS
SHOWN THROUGH PRE DRILLED HOLES.
L3 - GROUND BOARD - W101602
5/8"x4 3/8"x46 7/8" (16x112x1191)
(1)
M9 - ANGLE BRACE - W100696
5/8"x3 3/8"x35 5/8" (16x86x904)
(1)
M10 - SAFETY BOARD - W100701
5/8"x3 3/8"x33 7/8" (16x86x860)
(1)
LAG SCREW
WH 5/16x2 1/2
(6)
NUT BARREL
WH 5/16x5/8
(2)
BOLT WH
5/16x1
(2)
WASHER
LOCK EXT
8x19
(8)
WASHER
LOCK EXT
12x19
(2)
BOLT WH 5/16x1
(2 PLCS)
WASHER LOCK EXT 8x19
(2 PLCS)
WASHER LOCK EXT 12x19
(2 PLCS)
NUT BARREL WH 5/16x5/8
(2 PLCS)
LAG SCREW WH 5/16x2 1/2
(2 PLCS)
WASHER LOCK EXT 8x19
(2 PLCS)
M10
E2
E2
M5
M5
L3
M9

Related product manuals