EasyManua.ls Logo

Backyard Discovery 55006 - Page 42

Backyard Discovery 55006
63 pages
Print Icon
To Next Page IconTo Next Page
To Next Page IconTo Next Page
To Previous Page IconTo Previous Page
To Previous Page IconTo Previous Page
Loading...
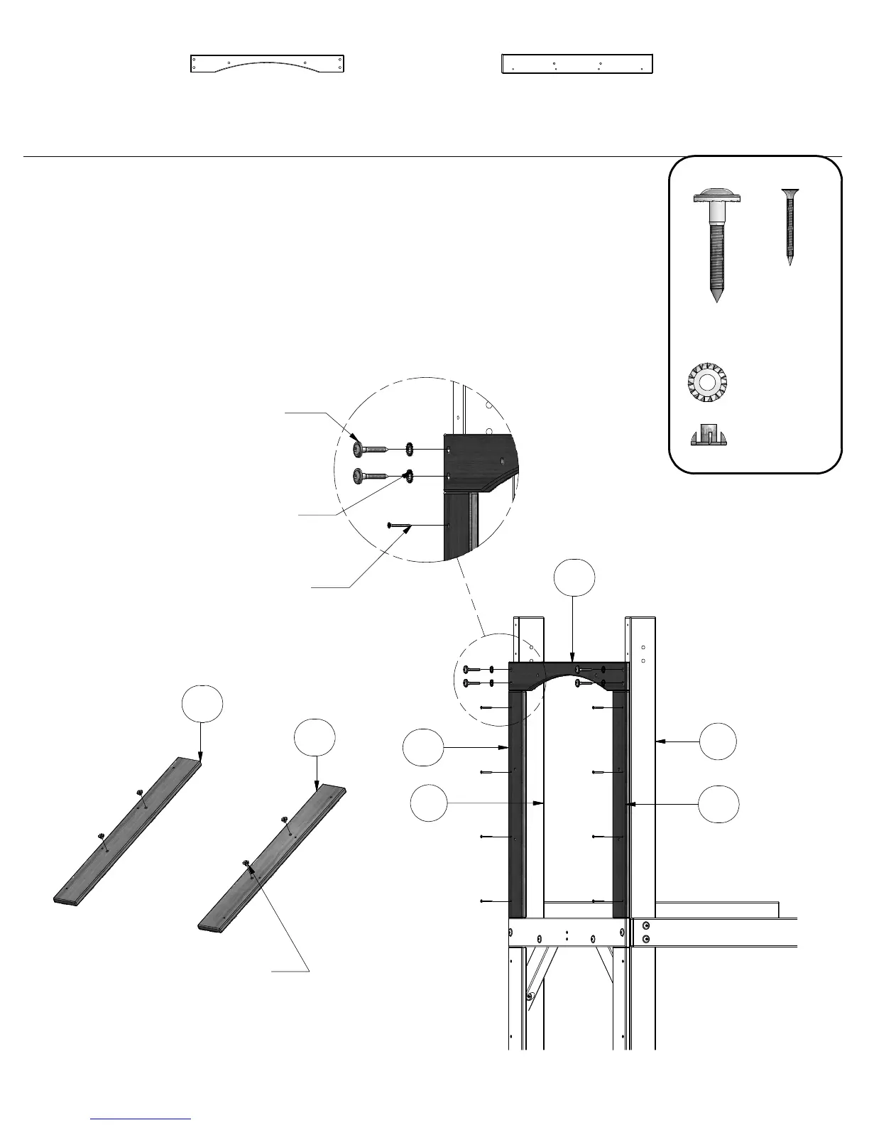
M11 - UPPER FACE BOARD - W102866
5/8"x3 3/8"x26 5/8" (16x86x676)
(2)
SCREW PFH
8x1 1/2
(8)
WASHER
LOCK EXT
8x19
(4)
T-NUT 1/4 (4)
M12 - MONKEY BAR ARCH BOARD - W103775
5/8"x3 3/8"x30" (16x86x762)
(1)
STEP 11
ATTACH 1/4" T-NUTS TO M11 BOARDS AS SHOWN.
ATTACH M11 BOARDS TO E1 BOARD AND E3 BOARD WITH HARDWARE AS
SHOWN THROUGH PRE DRILLED HOLES.
ATTACH M12 BOARD TO E3 AND E1 BOARDS THROUGH PRE DRILLED HOLES
WITH HARDWARE AS SHOWN.
LAG SCREW WH 5/16x2
(4 PLCS)
WASHER LOCK EXT 8x19
(4 PLCS)
SCREW PFH 8x1 1/2
(8 PLCS)
T-NUT 1/4
(4 PLCS)
M12
E1
M11
E3
M11
LAG SCREW
WH 5/16x2
(4)
M11
M11

Related product manuals