EasyManua.ls Logo

Backyard Discovery Echo Heights - Deck Assembly; Deck Assembly Steps

Backyard Discovery Echo Heights
80 pages
Print Icon
To Next Page IconTo Next Page
To Next Page IconTo Next Page
To Previous Page IconTo Previous Page
To Previous Page IconTo Previous Page
Loading...
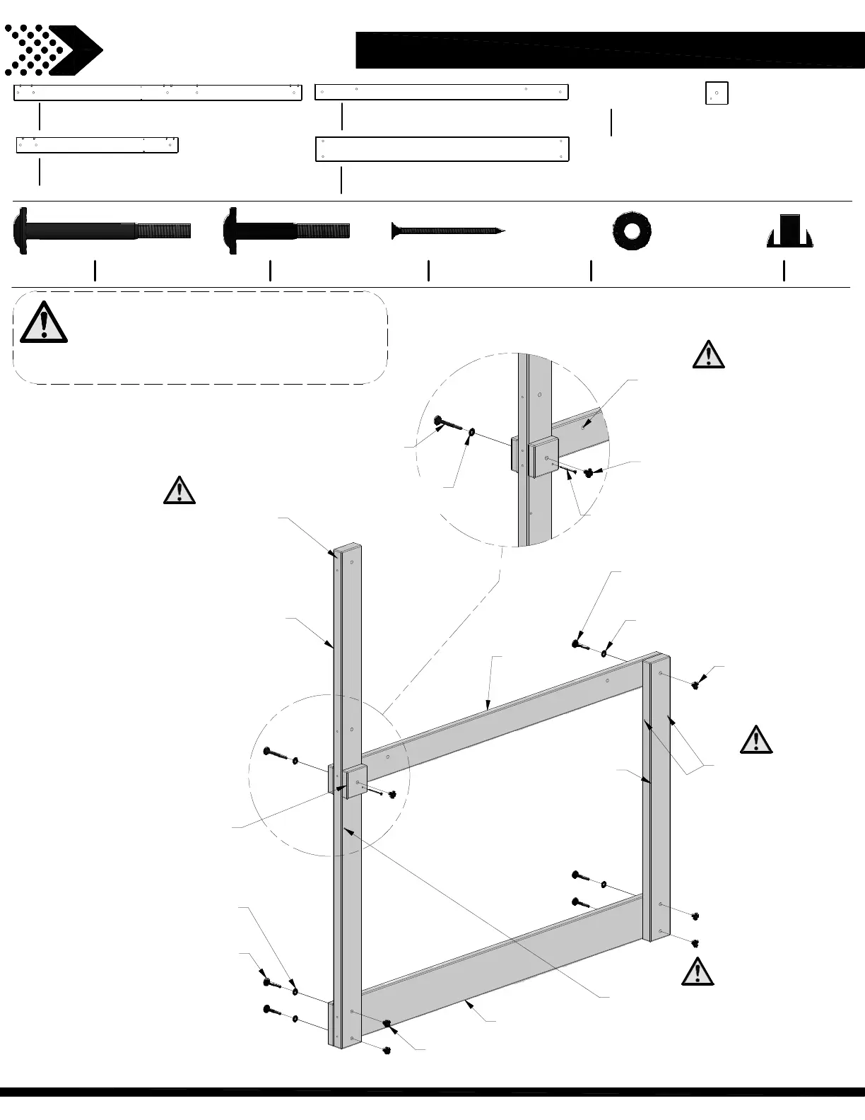
DECK ASSEMBLY
STEP 1
NOTE:
WE RECOMMEND THAT YOU INSTALL ALL
"T-NUTS" FIRST, WHEN A "T-NUT" IS
REQUIRED, THROUGHOUT THE ASSEMBLY
PROCESS.
LEFT FRONT UPRIGHT - W4L14880
1 3/8"x3 3/8"x62 3/8" (36x86x1584)
E1
(x1)
FLOOR RAIL - W4L14889
1"x3 3/8"x54 7/8" (24x86x1394)
H2
(x1)
LEFT REAR UPRIGHT - W4L14883
1 3/8"x3 3/8"x35" (36x86x889)
E4
(x1)
GROUND BOARD - W4L14885
1"x5 1/4"x54 7/8" (24x134x1394)
G2
(x1)
BOLT WH BLK
5/16x2-1/4
(x5)
H100205
T-NUT BLK
5/16
(x6)
H100379
WASHER LOCK EXT BLK
8x19
(x6)
H100198
NOTE HOLE LOCATION
CLOSER TO TOP EDGE.
NOTE HOLE
LOCATION
FOR PROPER
INSTALLATION.
NOTE HOLE LOCATION FOR
PROPER INSTALLATION.
NOTE HOLE LOCATION FOR
PROPER INSTALLATION.
E1
(x1)
H2
(x1)
J1
(x1)
E4
(x1)
G2
(x1)
FLOOR SUPPORT BLOCK - W4L14902
1"x3 3/8"x3 3/8" (24x86x86)
J1
(x1)
205
(x4)
BOLT - 2 1/4"
198
(x4)
WASHER - 8x19
379
(x4)
T-NUT - 5/16"
483
(x1)
SCREW - 8x2 1/4"
379
(x1)
T-NUT - 5/16"
198
(x1)
WASHER - 8x19
484
(x1)
BOLT - 3 1/4"
205
(x1)
BOLT - 2 1/4"
198
(x1)
WASHER - 8x19
379
(x1)
T-NUT - 5/16"
BOLT WH BLK
5/16x3 1/4
(x1)
H100484
SCREW PFH BLK
8x2 1/4
(x1)
H100483
31

Related product manuals