EasyManua.ls Logo

Backyard 1705012 - Page 16

Default Icon
67 pages
Print Icon
To Next Page IconTo Next Page
To Next Page IconTo Next Page
To Previous Page IconTo Previous Page
To Previous Page IconTo Previous Page
Loading...
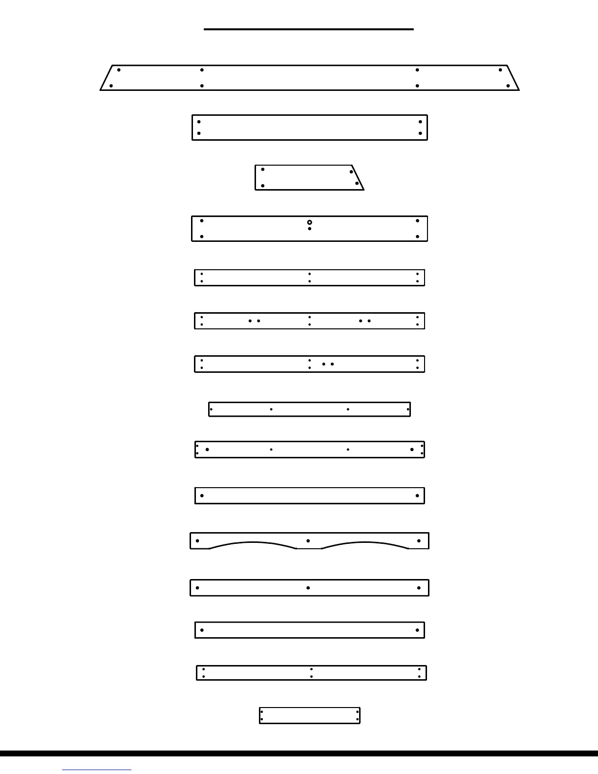
Parts Identification
Wood Components
(NOT TO SCALE)
K3 - GROUND BOARD - W4L07124
5/8"x5 1/4"x50 1/8" (16x134x1274)
(1)
K4 - GROUND BOARD - W4L07125
5/8"x5 1/4"x23 1/8" (16x134x588)
(1)
K5 - GROUND BOARD - W4L07135
5/8"x5 1/4"x50 1/4" (16x134x1277)
(1)
M1 - ROCK WALL BOARD - W4L07136
5/8"x3 3/8"x49" (16x86x1245)
(6)
M2 - ROCK WALL BOARD - W4L07137
5/8"x3 3/8"x49" (16x86x1245)
(3)
M3 - ROCK WALL BOARD - W4L07138
5/8"x3 3/8"x49" (16x86x1245)
(3)
M4 - FLOOR BOARD - W4L07141
5/8"x3"x42 7/8" (16x76x1090)
(2)
M5 - FLOOR BOARD - W4L07142
5/8"x3 3/8"x48 7/8" (16x86x1242)
(1)
M6 - SAFETY RAIL - W4L07143
5/8"x3 3/8"x48 7/8" (16x86x1243)
(1)
M7 - ARCHED RAIL - W4L07144
5/8"x3 3/8"x50 7/8" (16x86x1292)
(1)
M8 - WALL RAIL - W4L07145
5/8"x3 3/8"x50 7/8" (16x86x1292)
(2)
M9 - WALL RAIL - W4L07146
5/8"x3 3/8"x48 7/8" (16x86x1243)
(2)
M44 - PICKET - 42 - W4L07152
5/8"x3 3/8"x21 3/8" (16x86x542)
(13)
K2 - GROUND BOARD - W4L07123
5/8"x5 1/4"x89 3/8" (16x134x2270)
(1)
M10 - ROCK WALL BOARD - W4L07360
5/8"x3"x49" (16x76x1245)
(1)
14

Related product manuals