EasyManua.ls Logo

Backyard 1705012 - Page 37

Default Icon
67 pages
Print Icon
To Next Page IconTo Next Page
To Next Page IconTo Next Page
To Previous Page IconTo Previous Page
To Previous Page IconTo Previous Page
Loading...
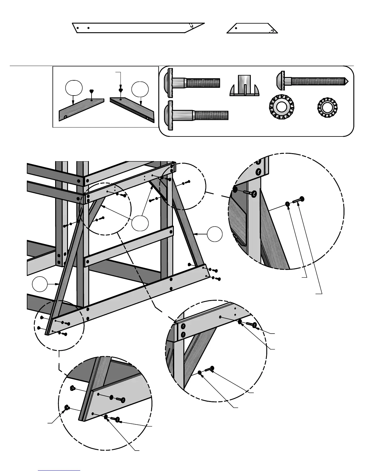
STEP 8
T-NUT 5/16
(6)
BOLT WH
5
/16x1 1/2
(4)
LAG SCREW WH 1/4x2
(2 PLCS)
WASHER LOCK EXT 6x15
(2 PLCS)
T-NUT 5/16
(4 PLCS)
WASHER LOCK EXT 8x19
(4 PLCS)
BOLT WH 5/16x1 1/2
(4 PLCS)
H1
H1
H1 - ANGLE BRACE - W4L07127
1
"x3 3/8"x46 1/8" (24x86x1173)
(2)
LAG SCREW
WH 1/4x2
(4)
WASHER
L
OCK EXT
8x19
(6)
WASHER
LOCK EXT
6x15
(4)
BOLT WH
5/16x1 3/4
(2)
T-NUT 5/16
(2 PLCS)
H11 - DECK BRACE - W4L07296
1"x3 3/8"x17 3/4" (24x86x450)
(2)
H11
ASSEMBLE T-NUTS
BEFORE 'H11' INSTALL.
H11
BOLT WH 5/16x1 3/4
(2 PLCS)
WASHER LOCK EXT 8x19
(2 PLCS)
LAG SCREW WH 1/4x2
(2 PLCS)
WASHER LOCK EXT 6x15
(2 PLCS)
H11
35

Related product manuals