EasyManua.ls Logo

Backyard 1705012 - Page 51

Default Icon
67 pages
Print Icon
To Next Page IconTo Next Page
To Next Page IconTo Next Page
To Previous Page IconTo Previous Page
To Previous Page IconTo Previous Page
Loading...
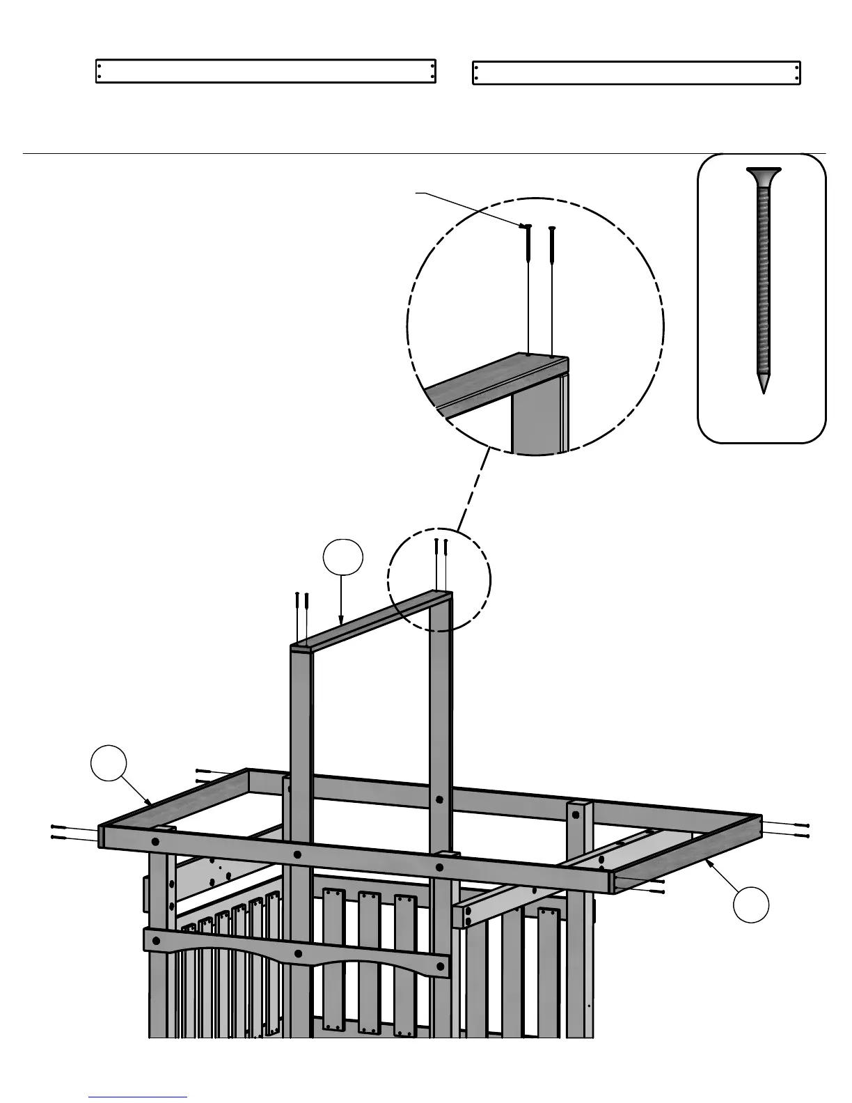
STEP 22
SCREW PFH 8x2 1/4
(12 PLCS)
H9
H9
H10
H9 - ROOF RAIL - W4L07150
1"x3 3/8"x50 7/8" (24x86x1291)
(2)
H10 - ROOF RAIL - W4L07151
1"x3 3/8"x48 7/8" (24x86x1243)
(1)
SCREW PFH
8x2 1/4
(12)
49

Related product manuals