EasyManua.ls Logo

Basler Vision Technologies A202k - Page 26

Basler Vision Technologies A202k
118 pages
Print Icon
To Next Page IconTo Next Page
To Next Page IconTo Next Page
To Previous Page IconTo Previous Page
To Previous Page IconTo Previous Page
Loading...
Camera Interface
2-12 BASLER A202
k
DRAFT
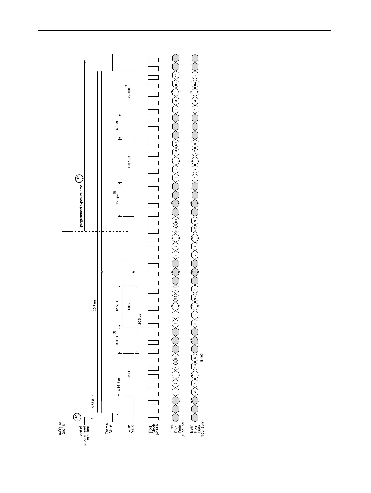
Figure 2-5: Dual 10 Bit or Dual 8 Bit Output Mode with Programmable Exposure
[1]
The line valid low time is 8.0 µs except as described in note 2 below.
[2]
In the programmable exposure mode, the rise of ExSync starts exposure. If ExSync rises while a frame is being transferred (while frame valid is high), one line valid
low time immediately following the fall of ExSync will be 15.5 µs.
[3]
The diagram assumes that the area of interest (AOI) feature is not being used. With the AOI feature enabled, the number of lines transferred and the number of pixels
in each line could be smaller.
TIMING CHARTS ARE NOT DRAWN TO SCALE

Table of Contents