EasyManua.ls Logo

Basler Vision Technologies A202k - Page 32

Basler Vision Technologies A202k
118 pages
Print Icon
To Next Page IconTo Next Page
To Next Page IconTo Next Page
To Previous Page IconTo Previous Page
To Previous Page IconTo Previous Page
Loading...
Operation and Features
3-2 BASLER A202
k
DRAFT
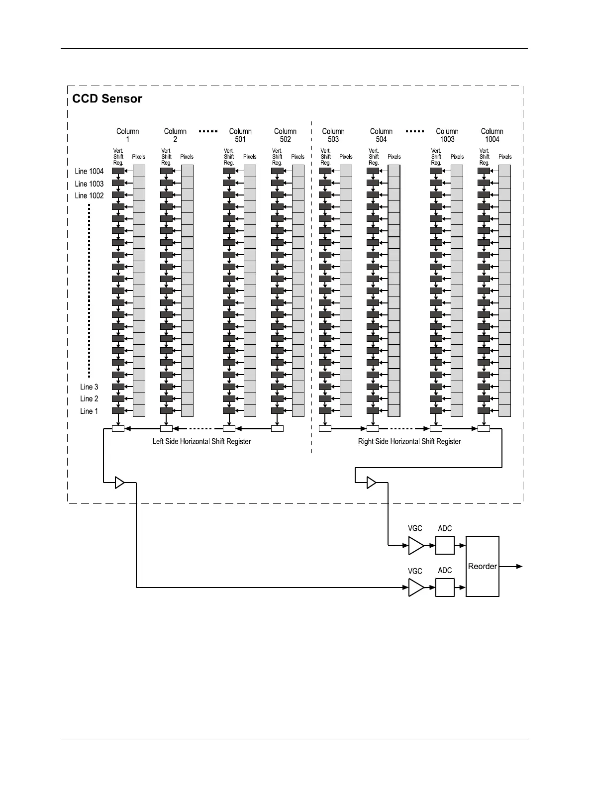
Figure 3-1: A202k Sensor Architecture

Table of Contents