EasyManua.ls Logo

Baumatic BFR6 - Using your Baumatic Rangehood; Preparation Before First Use; Operating the Rangehood Controls

Baumatic BFR6
28 pages
Print Icon
To Next Page IconTo Next Page
To Next Page IconTo Next Page
To Previous Page IconTo Previous Page
To Previous Page IconTo Previous Page
Loading...
Using your Baumatic rangehood
Before first use
IMPORTANT: THIS PROCESS MUST BE FOLLOWED BEFORE
THE RANGEHOOD IS USED FOR THE FIRST TIME.
o You should use a good quality stainless steel cleaner and polish
on ALL of the stainless steel areas of your rangehood, before it is
used for the first time.
o This will help to leave a silicone water-resistant film to protect
the stainless steel surfaces.
To use your rangehood
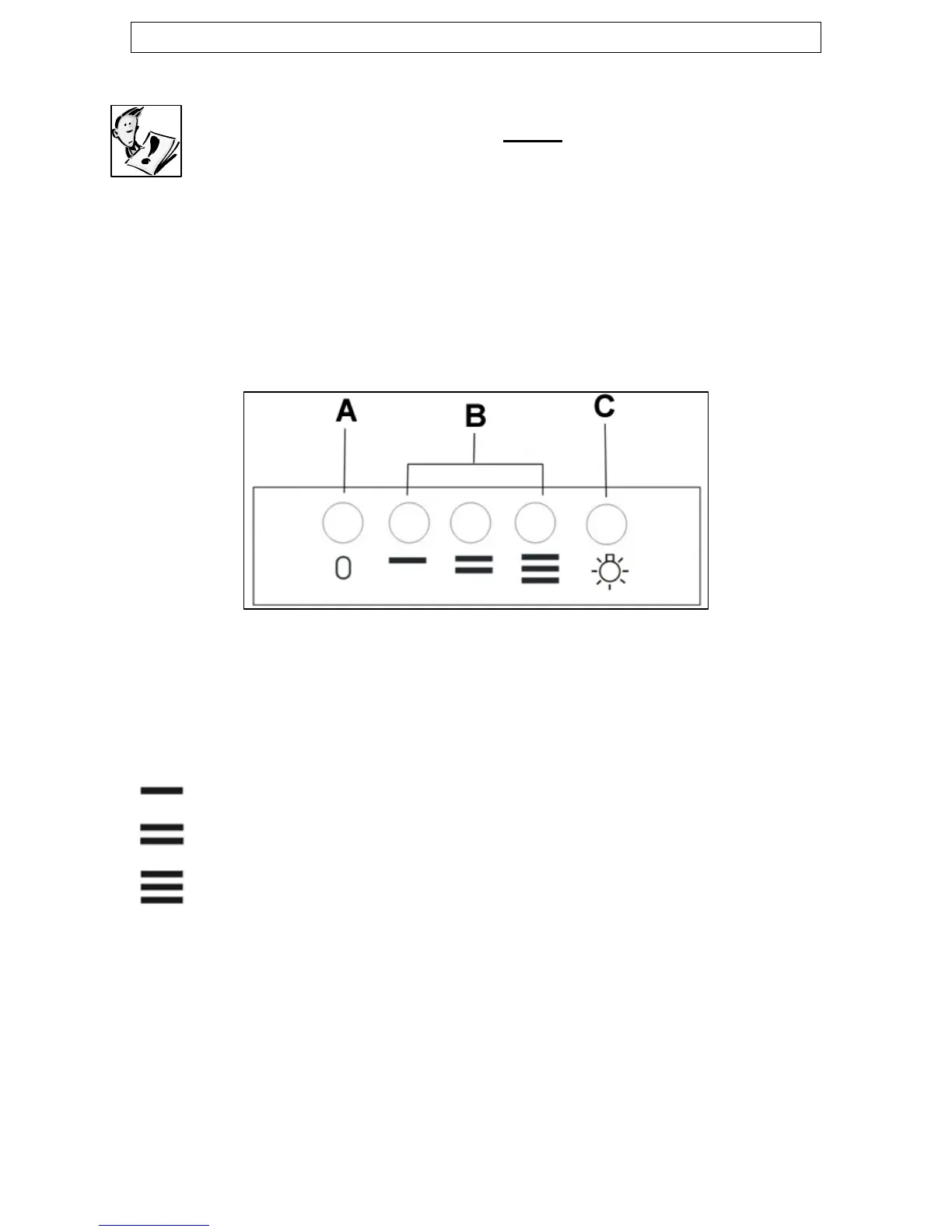
o A = ON/OFF button
o B = Speed selection buttons
o C = Light on/off button
= Low speed
= Medium speed
= High speed
o Before operating the hood, make sure that it has been installed
by a suitably qualified person, as per the information contained
in Baumatic’s installation instructions.
o Find the control panel, which is located at the front right of the
canopy.
o There are several buttons on the control panel, which perform
separate functions.
10

Related product manuals