EasyManua.ls Logo

Baumatic BFR6 - Fitting the Chimney Sections

Baumatic BFR6
28 pages
Print Icon
To Next Page IconTo Next Page
To Next Page IconTo Next Page
To Previous Page IconTo Previous Page
To Previous Page IconTo Previous Page
Loading...
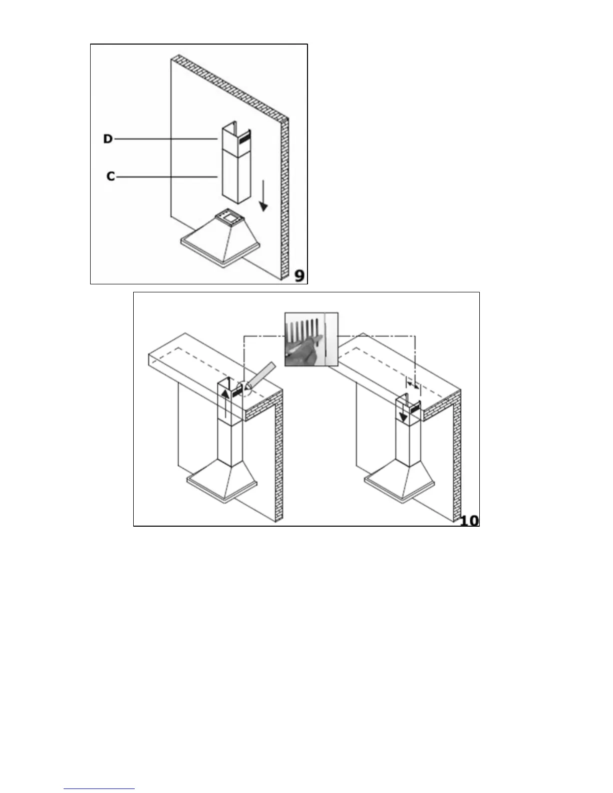
Fitting the chimney
9) Take the two chimney sections
(C) and (D).
o Rest the bottom of chimney
section (C) on the top of the
hood.
o Mark the side measurement of
both sides of the chimney
section (C) on the wall with a
pencil.
10) Lift chimney section (D) upwards until it reaches the ceiling. You
must ensure that it is perpendicular to the hood.
o Mark the side measurements of both sides of chimney section
(D) on the wall with a pencil and then remove chimney section
(D).
21

Related product manuals