EasyManua.ls Logo

BCS 630 WS MAX - Avviamento Della Macchina Ed Inizio del Lavoro; To Start the Machine

BCS 630 WS MAX
56 pages
Print Icon
To Next Page IconTo Next Page
To Next Page IconTo Next Page
To Previous Page IconTo Previous Page
To Previous Page IconTo Previous Page
Loading...
19
A
VVIAMENTO DELLA MACCHINA ED INIZIO DEL
LAVORO
I
Prima di avviare il motore assicurarsi che il cambio sia in
posizione di folle e che la presa di forza non sia innestata.
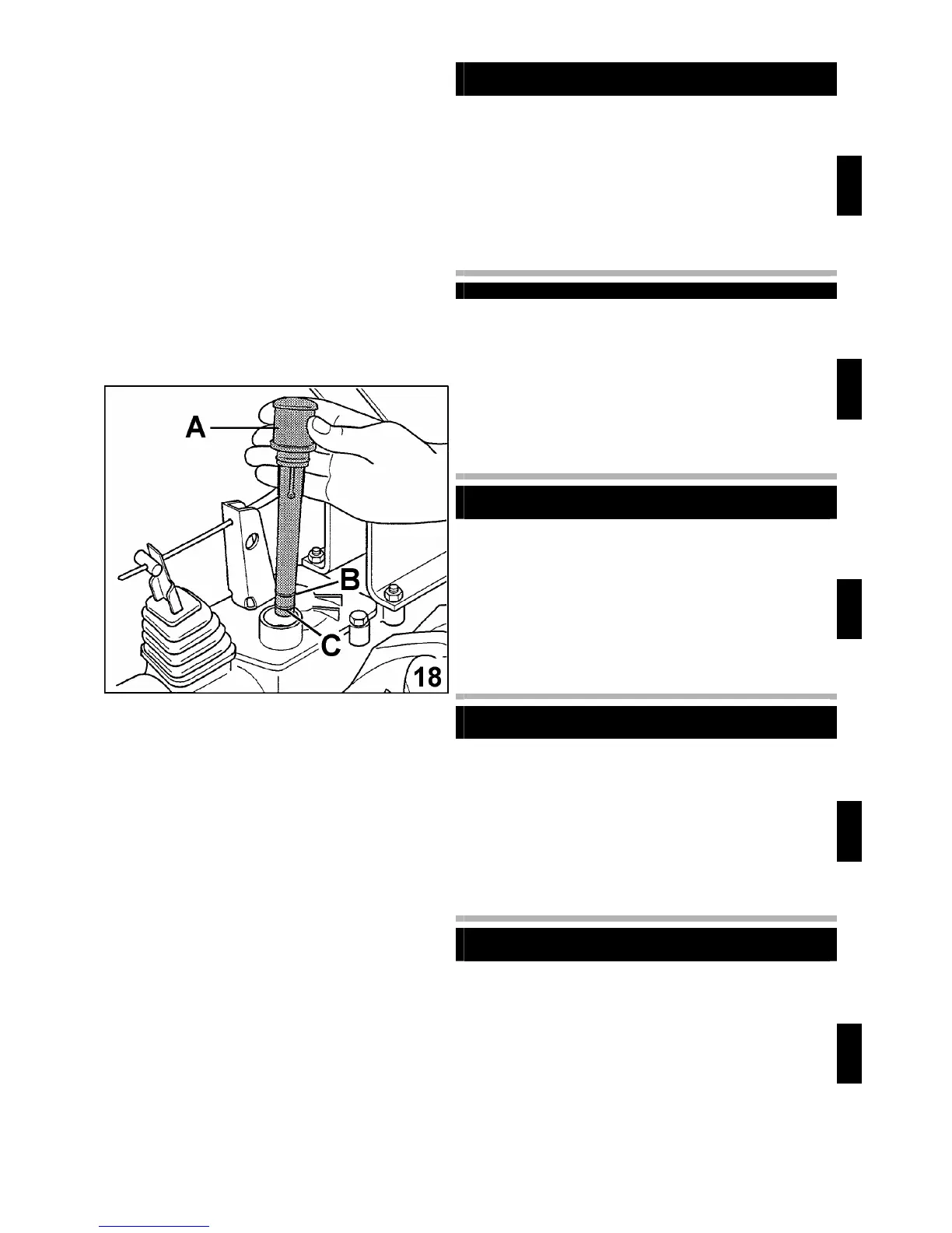
1) Abbassare la leva Motor Stop A e tirare la leva frizione B,
bloccarle con il fermo F (fig.19-20). Portare il manettino co-
mando acceleratore a metà corsa.
2) Predisporre il motore per l’accensione leggendo sul libretto
uso e manutenzione del motore le necessarie operazioni.
TO START THE MACHINE
GB
Before starting the engine, ensure that gear lever is in the cen-
tral position and that the power take off is not engaged.
1) Lower the Stop-Lever A, engage clutch lever B, and lock
them with stopper F (fig.19-20). Set the throttle at half-way po-
sition.
2) Set engine for starting as described in the engine manual.
DEMARRAGE DE LA MACHINE ET
COMMENCEMENT DU TRAVAIL
F
Avant de mettre en marche le moteur, il faut s’assurer que le
levier de changement de vitesses soit au point mort et que la
prise de force ne soit pas branchée.
1) Baisser le levier du Motor-Stop A et tirer le levier d’embra-
yage B, les bloquer par le ressort F (fig.19-20). Porter le levier
de commande de l’accélérateur à mi-course.
2) Préparer le moteur pour l’allumage selon les instructions
données dans le manuel du moteur.
A
RRANQUE DE LA MAQUINA Y INICIO DEL
TRABAJO
E
Antes de poner en marcha el motor, asegurarse de que la pa-
lanca del cambio está en posición neutra y que la toma de
fuerza no esté conectada.
1) Bajar la palanca de Paro-Motor A y apretar la palanca de
embrague B, bloquearlas por el muelle F (fig.19-20). Poner el
manguito del mando acelerador e la mitad.
2) Predisponer el motor para el arranque leyendo en el librito
de uso y mantenimiento del motor las operacciones necesa-
rias.
INBETRIEBENAHME DER MASCHINE UND BEGINN
DER ARBEIT
D
Vor dem Motoranlassen sich vergewissern, dass das Umkehr-
getriebe im Leerlauf ist und die Zapfwelle nicht eingeschaltet
ist.
1) Den Motor-Stop Hebel A auf die niedrigere Position stellen,
den Kupplungshebel B ziehen, mit der Feder F (Bild 19-20)
befestigen. Den Gashandhebel zur Hälfte einstellen.
2) Den Motor für die Zündung aufgrund der entsprechenden
Betriebsanleitung vorbereiten.

Table of Contents

Related product manuals