EasyManua.ls Logo

BCS 630 WS MAX - Component Lubrication and Checks; Paper Air Filter Maintenance; Gearbox Oil Check Interval and Procedure; Wheel Reduction Hub Oil Specification

BCS 630 WS MAX
56 pages
Print Icon
To Next Page IconTo Next Page
To Next Page IconTo Next Page
To Previous Page IconTo Previous Page
To Previous Page IconTo Previous Page
Loading...
24
I
Per i motori che hanno il filtro aria con elemento filtrante di
carta, occorre pulirlo con aria oppure sostituirlo se è molto
intasato.
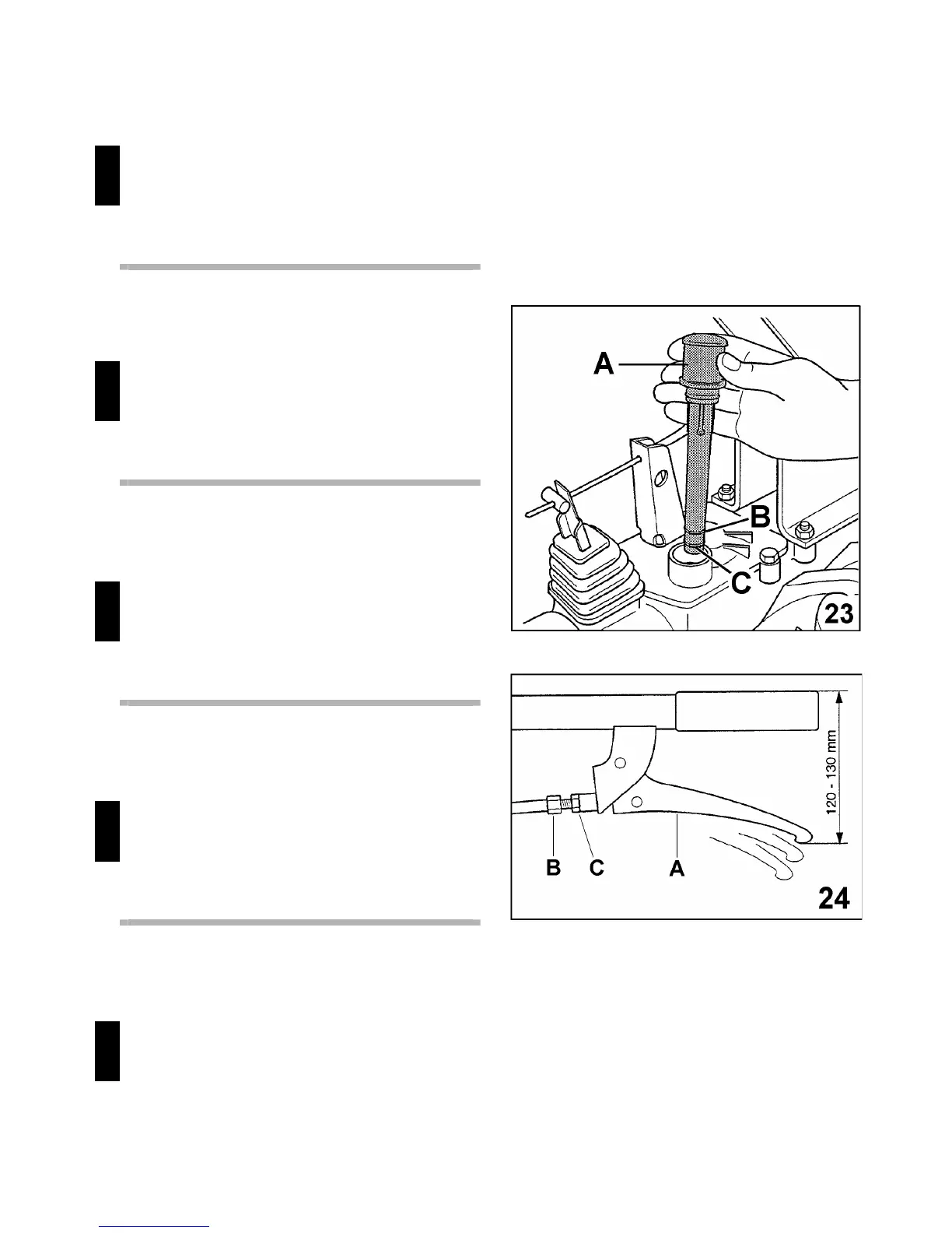
SCATOLA CAMBIO: controllare il livello dell’olio ogni 50
ore di lavoro togliendo il tappo A e verificando che, a mac-
china orizzontale, l’olio arrivi tra le due tacche B/C (fig.23).
Se occorre, aggiungere olio per cambi BCS PowerLube
W7 SAE 80W/90 (API GL-5).
MOZZO RIDUTTORE RUOTA: olio AGIP ROTRA MP
SAE 80W/90 (0,3 litri).
GB
For the engines having the air filter with the paper filter,
clean this element with air or replace it if it is very obstruc-
ted.
GEARBOX: Check oil level every 50 hours of work remo-
ving plug A and check that, with the horizontal machine, oil
reaches the two notches B/C (fig.23). If necessary, add
gearbox oil BCS PowerLube W7 SAE 80W/90 (API GL-
5).
HUB FOR REDUCTION UNIT WHEEL: oil AGIP ROTRA
MP SAE 80W/90 (0,3 litres).
F
Pour les moteurs qui ont le filtre à air avec élément filtrant
en papier, le nettoyer à l'air comprimé ou le remplacer s'il
est très obstrué.
BOITE DE VITESSES: Contrôler le niveau de l’huile toutes
les 50 heures de travail en ôtant le bouchon A et en con-
trôlant que, avec la machine horizontale, l’huile atteigne les
deux marques B/C (fig.23). Si nécessaire, ajouter de l’huile
pour boîtes des vitesses BCS PowerLube W7 SAE 80W/
90 (API GL-5).
MOYEUX POUR REDUCTEUR ROUE: (0,3 litres) huile
AGIP ROTRA MP SAE 80W/90.
E
Para los motores que tengan el filtro de aire con elemento
filtrante de papel, debera pulirlo con aire o bien sustituirlo
si es muy sucio.
CAJA DE CAMBIO: Controlar el nivel del aceite cada 50
horas de trabajo, quitando el tapón A y controlando que,
con la máquina horizontal, el aceite llegue entre las dos
señales B/C (fig.23). Si es necesario, añadir aceite para
caja de cambio BCS PowerLube W7 SAE 80W/ 90 (API
GL-5).
CUBO REDUCTOR RUEDA: aceite AGIP ROTRA MP
SAE 80W/90 (0,3 litros).
D
Der Luftfilter mit filtrierendem Papierelement muss mit
Luftdruck gereinigt werden. Sollte es sehr verstopft sein,
muss er ersetzt werden.
GETRIEBEKASTEN: Den Ölstand wöchentlich nach Ent-
fernen der Füllschraube A kontrollieren. Bei flach stehen-
der Maschine muss das Öl bis zu den beiden Markierun-
gen B/C (Abb.23) reichen. Beim Bedarf mit Getriebeöl
BCS PowerLube W7 SAE 80W/ 90 (API GL-5) auffüllen.
NABE FÜR RADERVERMINDERER: Öl AGIP ROTRA
MP SAE 80W/90 (0,3 Litern).

Table of Contents

Related product manuals