EasyManua.ls Logo

BCS PowerSafe 770 HY - Schema Frizione Powersafe; Legenda Frizione Powersafe; Powersafe Diagram; Powersafe Key

BCS PowerSafe 770 HY
99 pages
Print Icon
To Next Page IconTo Next Page
To Next Page IconTo Next Page
To Previous Page IconTo Previous Page
To Previous Page IconTo Previous Page
Loading...
80
14. MANUTENZIONE E LUBRIFICAZIONE (HY)_P10 01-18 rev. 0
14.6
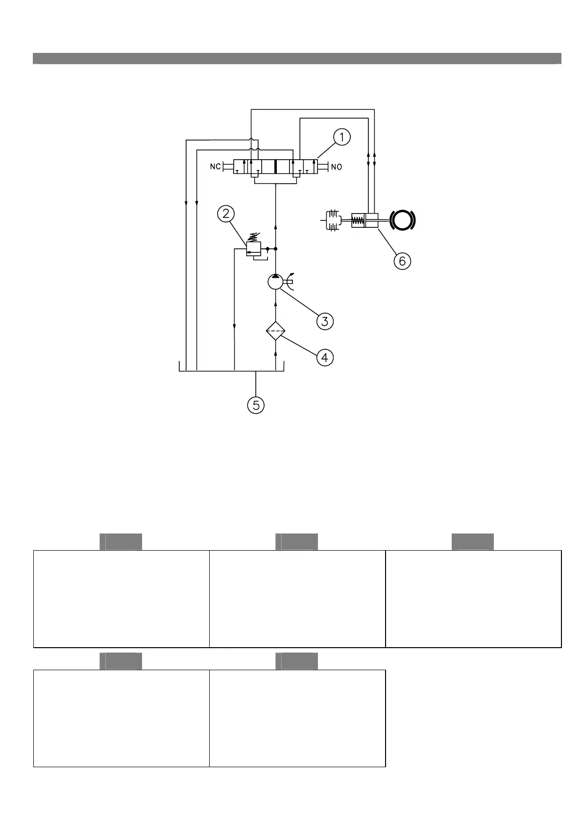
14.6.3 - Schema frizione PowerSafe® - PowerSafe® diagram - Schéma embrayage PowerSafe® - Esquema embrague Power
Safe® - Kupplungsplan PowerSafe®
0.
IT
ES EN ES FR
14.6.4 Legenda frizione PowerSafe®
1. Distributore
2. Valvola di massima
3. Pompa
4. Filtro
5. Scatola cambio
6. Attuatore frizione PowerSaf
14.6.4 PowerSafe® key
1. Distributor
2. High pressure valve
3. Pump
4. Filter
5. Gearbox
6. PowerSafe® clutch actuator
14.6.4 Légende embrayage PowerSafe®
1. Distributeur
2. Soupape de pression maximum
3. Pompe
4. Filtre
5. Boîte de vitesses
6. Actionneur embrayage PowerSafe®
ES
DE
14.6.4 Leyenda embrague PowerSafe®
1. Distributor
2. Valvúla de maxima presión
3. Bomba
4. Filtro
5. Caja de cambio
6. Actuator embrague PowerSafe®
14.6.4 Zeichenerklärung PowerSafe®
1. Verteiler
2. Druckbegrenzungsventil
3. Pumpe
4. Filter
5. Getriebekasten
6. Aktuator PowerSafe®-kupplung

Table of Contents

Related product manuals