EasyManua.ls Logo

Becker centronic sunwindcontrol swc52 - Page 18

Becker centronic sunwindcontrol swc52
Print Icon
To Next Page IconTo Next Page
To Next Page IconTo Next Page
To Previous Page IconTo Previous Page
To Previous Page IconTo Previous Page
Loading...
18
Montage- und Betriebsanleitung
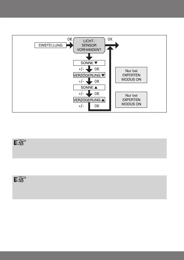
EINSTELLUNG
SONNE (VERZÖGERUNG)
1. Drücken Sie die MENUE-Taste.
2. Um das Menü EINSTELLUNG auszuwählen, drücken Sie die + Taste bis
EINSTELLUNG erscheint.
3. Bestätigen Sie mit OK
Hinweis
NurwenneinLichtsensorangeschlossenist,wirdIhnendiesesDialog-
fensterangezeigt.
4. SONNE t erscheint.
5. Mit der +/- Taste können sie den Sonnenwert verstellen. (Die linken beiden
Stellen im Display zeigen den aktuellen Lichtwert an)
Hinweis
DieimDialogfensterangezeigteVERZOEGERUNGtundVERZOEGE-
RUNGserscheintnur,wennim Funktionsmenü derEXPERTENMO-
DUSaufONsteht.
6. Bestätigen Sie Ihre Eingabe mit OK. VERZÖGERUNG t erscheint.
7. Mit der +/- Taste können sie den Verzögerungszeit verstellen.
8. Bestätigen Sie Ihre Eingabe mit OK.
Verfahren Sie mit SONNE s und VERZÖGERUNG s wie bei SONNE t und
VERZÖGERUNG t beschrieben.
9. Die Funktion SONNE/ VERZÖGERUNG ist jetzt eingestellt.
10. Zur weiteren Programmierung im Menü EINSTELLUNG lesen Sie bitte wei-
ter.