EasyManua.ls Logo

Becker centronic sunwindcontrol swc52 - Programmering

Becker centronic sunwindcontrol swc52
Print Icon
To Next Page IconTo Next Page
To Next Page IconTo Next Page
To Previous Page IconTo Previous Page
To Previous Page IconTo Previous Page
Loading...
88
Montage- en gebruiksaanwzing
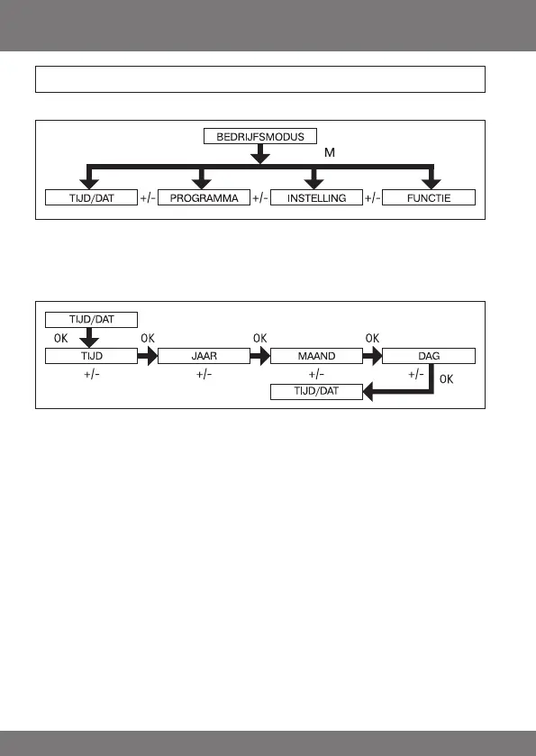
Menuoverzicht
1. Druk op de MENU-toets TIJD/DAT verschijnt.
2. Om andere menu’s te kiezen op de +/- toetsen drukken.
3. Druk op de MENU-toets, om in de bedrijfsmodus te komen.
TIJD/DAT(tijdendatuminstellen)
1. Druk op de MENU-toets, TIJD/DAT verschijnt.
2. Met OK komt men in het menu-item tijd.
3. Stel nu met de +/- toetsen de actuele tijd in.
4. Is de tijd ingesteld, bevestig dan met OK.
5. Ga met de instelling voor JAAR, MAAND en DAG te werk zoals boven be-
schreven. TIJD/DAT verschijnt.
6. Druk op de MENU-toets, om in de bedrijfsmodus terecht te komen.
Programmering