EasyManua.ls Logo

Becker centronic sunwindcontrol swc52 - Page 24

Becker centronic sunwindcontrol swc52
Print Icon
To Next Page IconTo Next Page
To Next Page IconTo Next Page
To Previous Page IconTo Previous Page
To Previous Page IconTo Previous Page
Loading...
24
Montage- und Betriebsanleitung
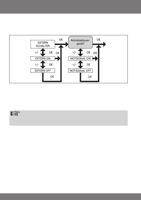
FUNKTION
(nur bei abgezogenem Bedienteil, nur für Fachpersonal)
EXTERN ON/OFF/SCHALTER, NOTSIGNAL ON/OFF
(Verarbeitung externer Signale, Verarbeitung von Notsignalen)
1. Sie haben die Funktion LAUFZEIT bestätigt. EXTERN SCHALTER erscheint.
(EXTERN SCHALTER/ON/OFF bezeichnet die externen Steuersignale.
Werkseinstellung ist EXTERN SCHALTER)
2. Mit der +/- Taste können Sie die gewünschte Einstellung der Steuereingänge
auswählen.
3. Bestätigen Sie Ihre Auswahl mit OK.
Hinweis
NurwennSieANTRIEBSSTEUERGERAETausgewählthaben,wirdIhnen
folgendesDialogfensterangezeigt.
4. NOTSIGNAL ON erscheint. (NOTSIGNAL ON ist Werkseinstellung)
5. Mit der +/- Taste können Sie das NOTSIGNAL auf ON oder OFF schalten.
Bestätigen Sie mit OK.
6. Die Funktion NOTSIGNAL ON/OFF ist jetzt eingestellt.
7. Zur weiteren Programmierung im Menü FUNKTION lesen Sie bitte weiter.