EasyManua.ls Logo

Becker centronic sunwindcontrol swc52 - Page 66

Becker centronic sunwindcontrol swc52
Print Icon
To Next Page IconTo Next Page
To Next Page IconTo Next Page
To Previous Page IconTo Previous Page
To Previous Page IconTo Previous Page
Loading...
66
Notice de montage et d’utilisation
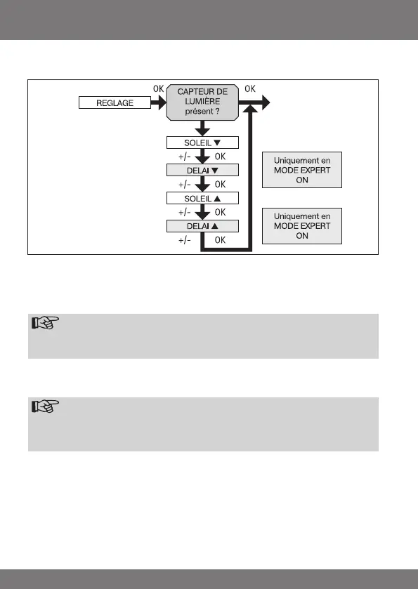
REGLAGE
SOLEIL (DELAI)
1. Appuyez sur la touche MENU.
2. Pour sélectionner le menu REGLAGE, appuyez sur la touche + jusqu’à ce
que REGLAGE apparaisse.
3. Conrmez avec OK
Remarque
Cettefenêtrededialoguenes’ouvrequelorsqu’uncapteurdelumino-
sitéestconnectéàl’appareil.
4. SOLEIL t apparaît.
5. Vous pouvez modier la valeur solaire avec la touche +/-. (Les deux chiffres
de gauche sur l’écran montrent la valeur de luminosité actuelle)
Remarque
LeDELAItetleDELAIsafchésdanslafenêtrededialoguen’appa-
raissentquelorsqueleMODEEXPERTsetrouvesurONdanslemenu
fonction.
6. Conrmez votre saisie avec OK. DELAI t apparaît.
7. Vous pouvez régler le délai de déclenchement avec la touche +/-.
8. Conrmez votre saisie avec OK.
Procédez pour SOLEIL s et DELAI s comme pour SOLEIL t et DELAI t.
9. La fonction SOLEIL/ DELAI est maintenant réglée.
10. Pour continuer la programmation dans le menu REGLAGE, veuillez lire la
suite.