EasyManua.ls Logo

Becker centronic sunwindcontrol swc52 - Page 90

Becker centronic sunwindcontrol swc52
Print Icon
To Next Page IconTo Next Page
To Next Page IconTo Next Page
To Previous Page IconTo Previous Page
To Previous Page IconTo Previous Page
Loading...
90
Montage- en gebruiksaanwzing
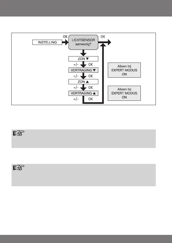
INSTELLING
ZON (VERTRAGING)
1. Druk op de MENU-toets.
2. Om het menu INSTELLING te selecteren, de + toets indrukken tot INSTEL-
LING verschijnt.
3. Bevestig met OK
Aanwijzing
Alleenwanneereenlichtsensorisaangesloten,wordtditdiialoogven-
stergetoond.
4. ZON t verschijnt.
5. Met de +/- toets kan de zonwaarde worden gewijzigd. (De twee linker plaat-
sen in het display geven de actuele lichtwaarde aan)
Aanwijzing
De in het dialoogvenster weergegeven VERTRAGING t en VERTRA-
GING sverschijntalleenwanneerinhetmenuFunctiedeEXPERTMO-
DUSopONstaat.
6. Bevestig de ingevoerde gegevens met OK. VERTRAGING t verschijnt.
7. Met de +/- toets kan de vertragingstijd worden gewijzigd.
8. Bevestig de ingevoerde gegevens met OK.
Ga bij ZON s en VERTRAGING s net zo te werk als beschreven bij ZON t
en VERTRAGING t.
9. De functie ZON/VERTRAGING is nu ingesteld.
10. Lees verder wanneer u meer wilt weten over de verdere programmering in
het menu INSTELLING.