EasyManua.ls Logo

Becker centronic sunwindcontrol swc52 - Page 92

Becker centronic sunwindcontrol swc52
Print Icon
To Next Page IconTo Next Page
To Next Page IconTo Next Page
To Previous Page IconTo Previous Page
To Previous Page IconTo Previous Page
Loading...
92
Montage- en gebruiksaanwzing
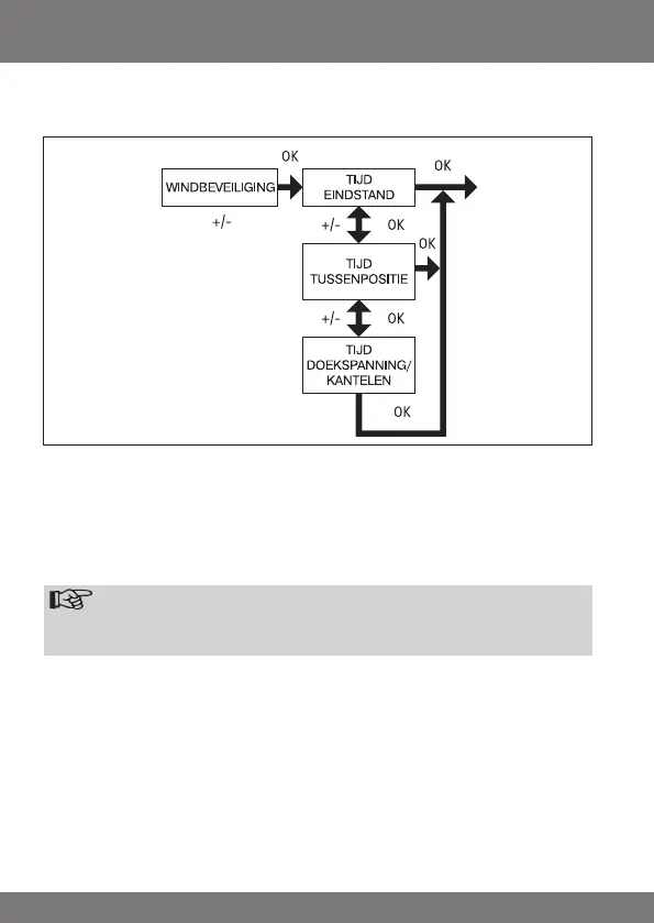
INSTELLING
WINDBEVEILIGING, TIJD EINDSTAND, TIJD TUSSENPOSITIE, TIJD DOEK-
SPANNING/KANTELEN
1. Het menu-item WINTER OFF/ON is bevestigd.
WINDBEVEILIGING verschijnt.
2. Met de +/- toets kan de windwaarde worden gewijzigd. (De twee linker plaat-
sen in het display geven de actuele windwaarde aan)
3. Bevestig de ingevoerde gegevens met OK. TIJD EINDSTAND verschijnt.
4. Met de +/- -toets is het mogelijk te kiezen tussen TIJD EINDSTAND, TIJD
TUSSENPOSITIE, TIJD DOEKSPANNING/KANTELEN.
Aanwijzing
Metdezeselectiewordtvastgelegdinwelkepositiedezonweringloopt
nahetbereikenvandeingesteldedrempelwaarde.
5. Bevestig de keuze met OK.
6. De functie TIJD EINDSTAND is nu ingesteld.
7. Lees verder wanneer u meer wilt weten over de verdere programmering in het
menu INSTELLING.